Η Hyundai έριξε πολλή δουλειά στο να φέρει βενζινοκίνητη αίσθηση και ήχους στο Ioniq 5 N. Προσομοίωση στροφών ανάλογα του πατήματος στο γκάζι και αλλαγών σχέσεων, εικονικά ανεβο-κατεβάσματα και «κοψίματα», τα πάντα για να μακιγιαριστεί η ηλεκτρική φύση του συστήματος κίνησης και να έρθει πιο κοντά στα θερμικά. Μια δουλειά που, όπως φαίνεται, ήταν τόσο καλή, ώστε δίνει ιδέες ακόμα και στη Ferrari!
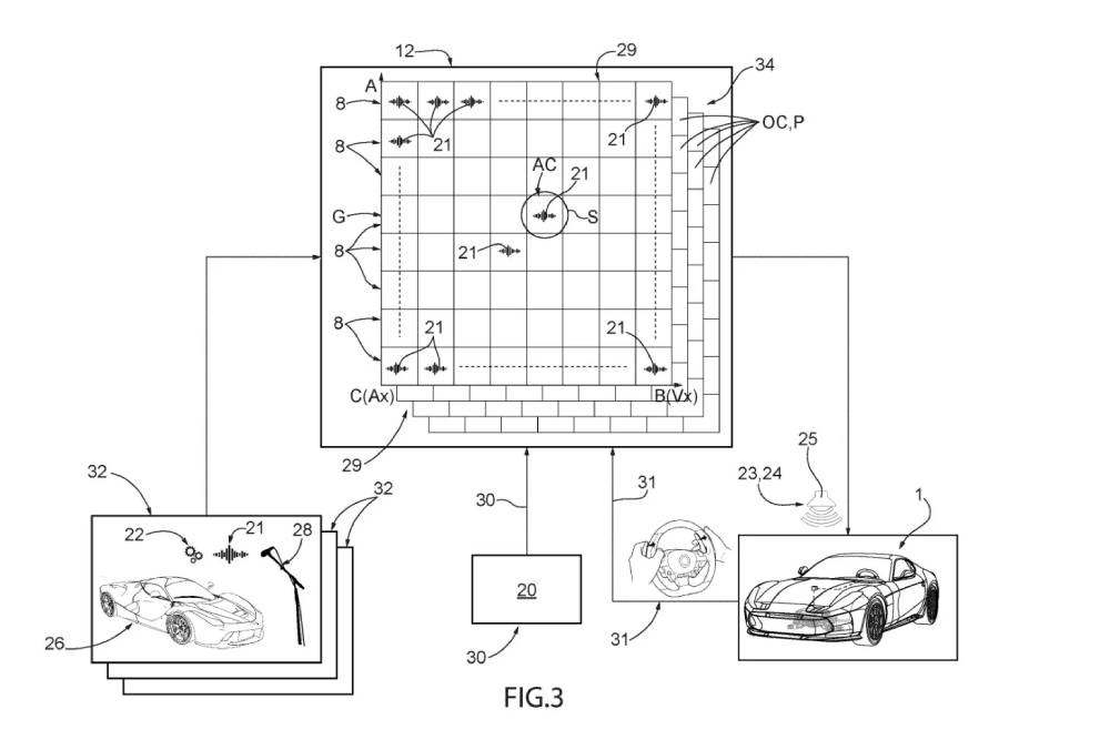
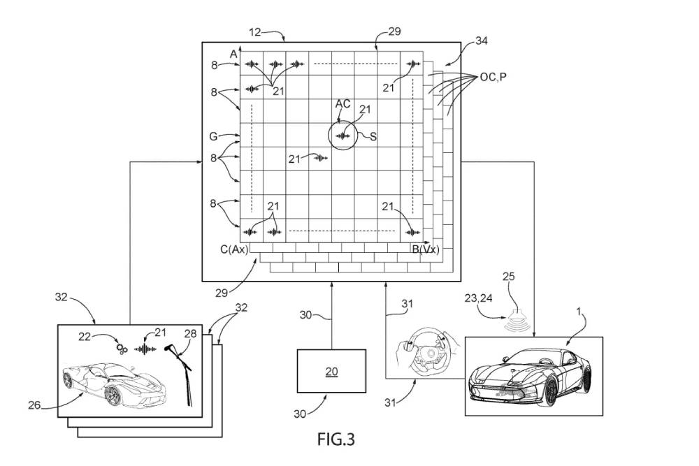
Σύμφωνα με έγγραφα που κατέθεσαν οι Ιταλοί στο Ευρωπαϊκό Γραφείο Ευρεσιτεχνιών, το πρώτο τους ηλεκτρικό αυτοκίνητο θα έχει σύστημα αλλαγής ταχυτήτων και παραγωγής ήχων, παρόμοιο με εκείνο στο ισχυρότερο αυτοκίνητο όλων των εποχών από Κορεάτη κατασκευαστή! H Ferrari Elettrica, όπως είναι το προσωρινό (μπορεί και μόνιμο) όνομα του EV Cavallino, θα προσφέρει τη δυνατότητα χειροκίνητων εικονικών αλλαγών σχέσεων με τη χρήση paddles πίσω από το τιμόνι, συνοδευόμενων από το ανάλογο θερμικό soundtrack, V8 μελωδιών μάλιστα. Αμφότερες λειτουργίες που λάνσαρε πρώτη η Hyundai (το N Division, συγκεκριμένα), προκαλώντας θαυμασμό από το σύνολο της αυτοκίνησης, όπως πολύ χαρακτηριστικά έχει δηλώσει στο παρελθόν και η BMW M.
Περί μηχανικών μερών και τεχνικών χαρακτηριστικών τώρα, από τα κεντρικά της Ferrari δεν διαρρέει τίποτα. Ο περίγυρος είναι που δίνει κάποια στοιχεία, αλλά δίχως επίσημη επιβεβαίωση. Τι λέει το «κους κους» περί του πρώτου EV υπεραυτοκινήτου από τη Μόντενα (η συμπολίτισσα Maserati GranTurismo Folgore λογίζεται ως grand tourer); Τουλάχιστον 800-900 άλογα απόδοση, μπαταρία 100 kWh, μίνιμουμ δυο ηλεκτροκινητήρες (πολύ πιθανοί οι τέσσερις, ένας ανά τροχό, για καλύτερη κατανομή ροπής), αυτονομία άνω των 600 χλμ., εξαιρετικές επιδόσεις και τιμή τουλάχιστον 500.000 ευρώ. Υπομονή μέχρι το τέλος του 2025 για τα υπόλοιπα.
























