- Νέα πατέντα προδίδει τις προθέσεις της Mazda
- Νέα πατέντα προδίδει τις προθέσεις της Mazda
Πραγματικά αυτό το θέμα με την διάδοχη κατάσταση του σπορ μοντέλου της Mazda έχει αρχίσει να κουράζει ακόμη και τους πιο πιστούς οπαδούς του μοντέλου. Και είναι λογικό καθώς από τη δύση της καριέρας του Mazda RX-8 έως και σήμερα έχουμε ακούσει πολλά και διάφορα.
Δείτε ακόμη: Το ταμπλό του μέλλοντος από την Honda
Οι φήμες μάλιστα φουντώνουν και κάνουν λόγο για παρουσίασή του στο Σαλόνι Αυτοκινήτου του Τόκιο. Το Mazda RX-9 θα εφοδιάζεται με περιστροφικό κινητήρα και θα οδηγηθεί στην παραγωγή το 2019, όπως λένε οι ίδιες πηγές.
Προφανώς και μιλάμε για ανεπίσημες πληροφορίες, οι οποίες συνεχίζουν κάνοντας λόγο για μοντέλο το οποίο θα είναι πολύ κοντά στην εμφάνιση του πρωτότυπου RX-Vision, το οποίο είχαμε δει το 2015 και βλέπουμε και στην πιο πάνω εικόνα.
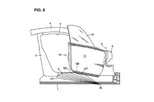
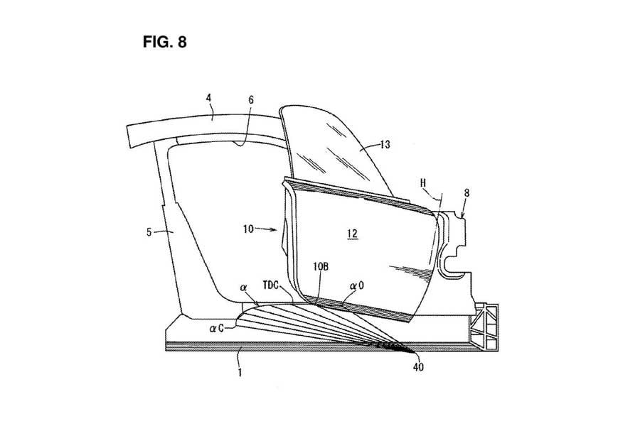
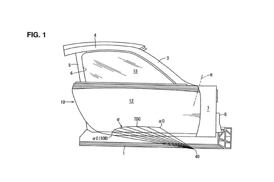
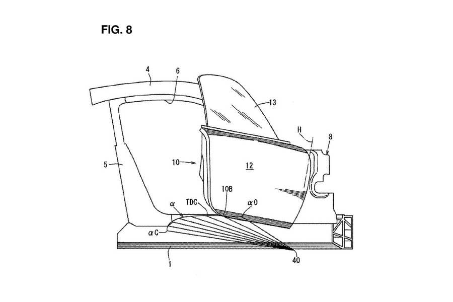
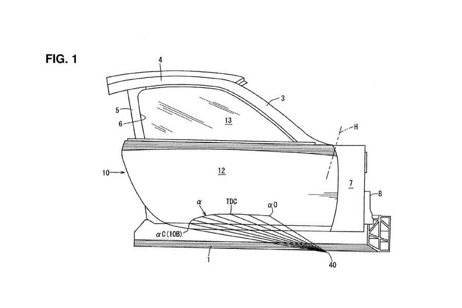
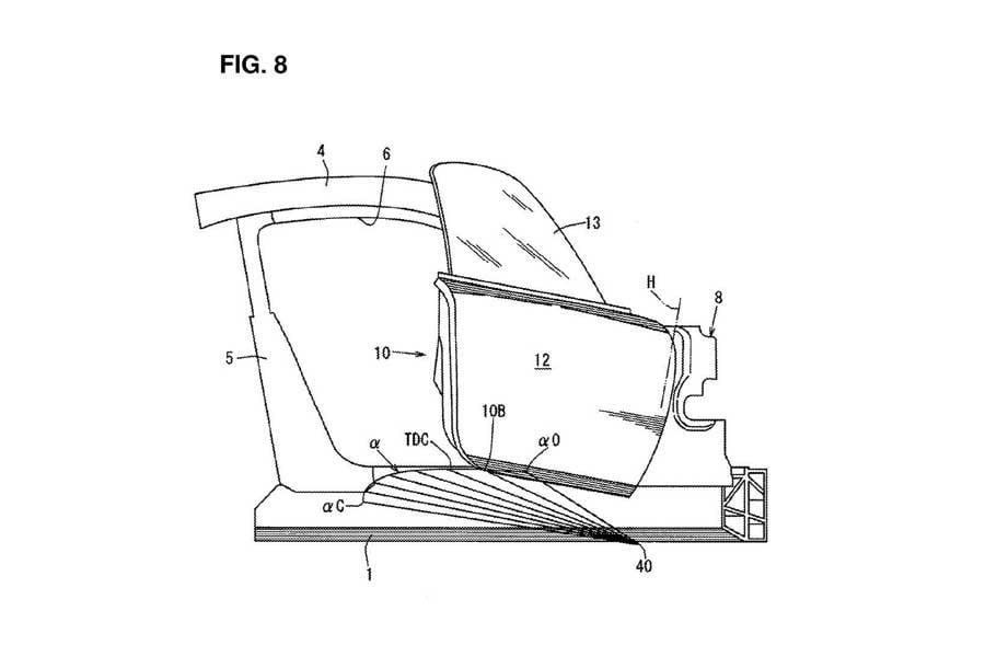
Δίπλα όμως μπορούμε να δούμε και δύο νέα σκίτσα τα οποία πατένταρε η ιαπωνική μάρκα και εμφανίζουν ένα σπορ αμάξωμα και το άνοιγμα των θυρών του προς τα έξω και μετά προς τα επάνω κατά 15 μοίρες.
Διαβάστε επίσης: Απούλητα μένουν στη Γερμανία 300.000 μεταχειρισμένα diesel Euro 5
Όπως είναι λογικό, τα σκίτσα αυτά έρχονται να αναζωπυρώσουν τις ίδιες φήμες και να μας κάνουν όλους να περιμένουμε το σαλόνι αυτοκινήτου του Τόκιο με αγωνία, για να δούμε αν τελικά θα είναι εκεί το πολυπόθητο RX-9.


























