Ferrari και τεχνολογικές καινοτομίες πάνε «χέρι-χέρι». Ειδικά με την Purosangue οι Ιταλοί σαν να βρήκαν την απόλυτη πλατφόρμα νέων εφαρμογών, πέρα από το πρώτο SUV στα χρονικά τους. Η «Καθαρόαιμη» διαθέτει μια υπερσύγχρονη ηλεκτρονικά ελεγχόμενη ανάρτηση κι όπως φαίνεται, σύντομα θα αποκτήσει τη συντροφιά ανάλογου συστήματος τετραδιεύθυνσης.
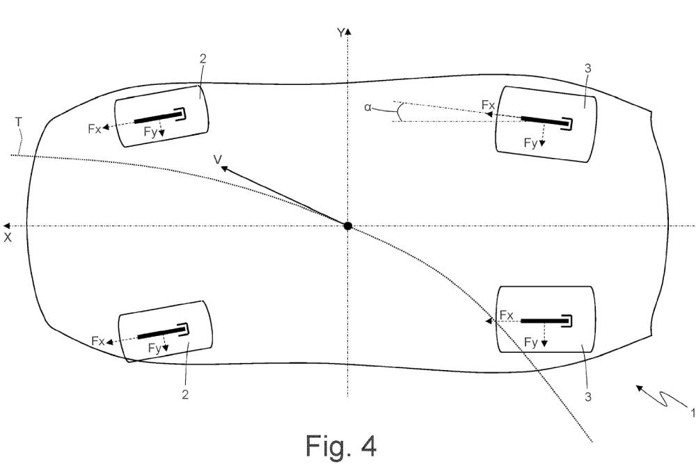
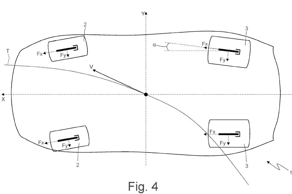
Σύμφωνα με πατέντα που κατοχυρώθηκε στο Ευρωπαϊκό Γραφείο Ευρεσιτεχνιών (και αλίευσε το Carbuzz), η Ferrari εξελίσσει τεχνολογία AWS (All Wheel Steering) που θα κάνει τα υπάρχοντα συστήματα να φαντάζουν πεπαλαιωμένα. Όπως αποτυπώνεται στα σκίτσα και εξηγείται στην περιγραφή της πατέντας, η τετραδιεύθυνση του Μαρανέλο κάνει ό,τι έχουμε συνηθίσει μέχρι τώρα, συν κάτι που κανένας δεν έχει καταφέρει να εφαρμόσει ακόμα. Όπως σε όλες τις λύσεις ενεργητικού 4WS, οι πίσω τροχοί είτε ακολουθούν την πορεία των εμπρός (στις υψηλές ταχύτητες, για ευστάθεια), είτε παίρνουν την ακριβώς αντίθετη (για ευελιξία). Η μεγάλη διαφορά της Ferrari εντοπίζεται σε δυο καίρια σημεία.
Καταρχάς, δεν χρειάζεται να στρίψει το τιμόνι για να πάρουν γωνία οι πίσω τροχοί. Οι τεχνικοί του «Cavallino» έχουν ρυθμίσει με τέτοιο τρόπο τις παραμέτρους του λογισμικού, ώστε οι τροχοί ρυθμίζουν αυτόματα τη σύγκλιση σε φάση επιτάχυνσης ή φρεναρίσματος, αυξάνοντας περαιτέρω τη σταθερότητα της Purosangue. Κι εδώ έρχεται η δεύτερη, και μεγαλύτερη, επανάσταση σε σχέση με όσα ξέρουμε.

Για να καθίσταται επιτυχής μια τέτοια κινηματική, οι τροχοί θα πρέπει να είναι ελεύθεροι να κινούνται εντελώς ανεξάρτητα ο ένας από τον άλλο. Να μπορούν, δηλαδή, είτε να στρίβουν αντικριστά (ο ένας «κοιτάζοντας» τον άλλο), είτε κατά μόνας (να στρίβει μόνο ο ένας)! Στα έως τώρα συστήματα τετραδιεύθυνσης, ακόμα και στα πλέον εξελιγμένα, κάτι τέτοιο είναι αδύνατο. Μπορεί κάποιες εφαρμογές να επιτρέπουν περισσότερες μοίρες από άλλες, όμως σε όλες οι πίσω τροχοί στρίβουν ενιαία: είτε και οι δυο δεξιά ή αριστερά. Η Purosangue αλλάζει εντελώς τα δεδομένα, δίνοντας πλήρη αυτονομία στις δυο άκρες του πίσω άξονα!






























