Τα SUV δεν τα πάνε καλά με τους πεζούς, από τη φύση τους. Η αυξημένη απόσταση από το έδαφος και η ογκώδης διαμόρφωση του εμπρός μέρους επιφέρουν πολύ δυσάρεστες καταστάσεις σε τυχόν ατύχημα, καθότι υπάρχει μεγάλη πιθανότητα το ανθρώπινο σώμα να μην «απογειωθεί» και να χτυπήσει στο καπό, αλλά είτε να απορροφήσει εγκάρσια όλο το φορτίο της σύγκρουσης, είτε να μπει κάτω από το αυτοκίνητο. Όσο πιο ογκώδες το όχημα, μεγαλύτερο το ύψος και κάθετη η «μούρη» του (καλή ώρα το Bronco Raptor), τόσο χειρότερη η μοίρα του πεζού. Κάτι που θέλει να αλλάξει η Ford, μέσα από μια καινοτόμο ιδέα.
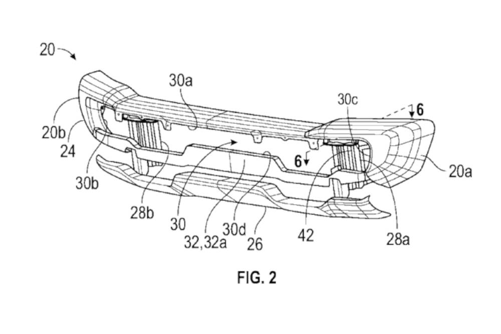
Οι Αμερικανοί (ή καλύτερα το ευρωπαϊκό τμήμα) κατέθεσε στο Γερμανικό Γραφείο Ευρεσιτεχνιών πατέντα, σχετική με την εξέλιξη ενός προφυλακτήρα που αλλάζει σχήμα. Βάσει νομοθεσίας οι προφυλακτήρες των αυτοκινήτων θα πρέπει να έρχονται σε επαφή, σε τυχόν ατύχημα, με το πόδι του πεζού κάτω από το ύψος του γονάτου, προκειμένου να τον «σηκώνουν» και στη συνέχεια να προσκρούει στο καπό, το οποίο -με τη σειρά του- σε πολλές εφαρμογές ανασηκώνεται για να περιορίζει τον αντίκτυπο του χτυπήματος. Μια κινηματική που αποσκοπεί στην όσο το δυνατόν ομαλότερη κατανομή των δυνάμεων, άρα και τον περιορισμό πιθανοτήτων για σοβαρούς τραυματισμούς ή χειρότερα.
Στα περισσότερα SUV όμως, κάτι τέτοιο δεν ισχύει. Ακόμα κι αν ο προφυλακτήρας όντως χτυπάει το πόδι κάτω από το γόνατο, η επακόλουθη κίνηση από το σώμα του πεζού δεν είναι η κείμενη. Τις περισσότερες φορές «κοψομεσιάζεται», με ό,τι αυτό μπορεί να επιφέρει στη σπονδυλική στήλη, ενώ δεν αποκλείεται να τον βάλει από κάτω το αυτοκίνητο (επίσης δεν χρειάζεται αναφορά στις τραγικές συνέπειες). Ένα πρόβλημα που προκύπτει τόσο από το σχήμα του εμπρός μέρους, όσο και του αυξημένου ύψους. Αναγκαστικά, όσο καλοσχεδιασμένος και να είναι ο προφυλακτήρας, το σώμα πρακτικά δέχεται μετωπικά όλο το φόρτο του «μπαμ». Εδώ έρχεται να κάνει τη μεγάλη διαφορά η πατέντα της Ford.

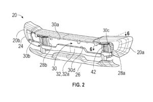
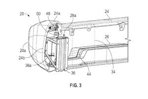
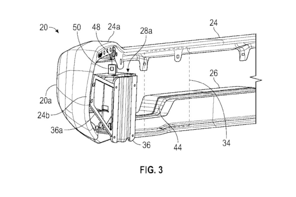
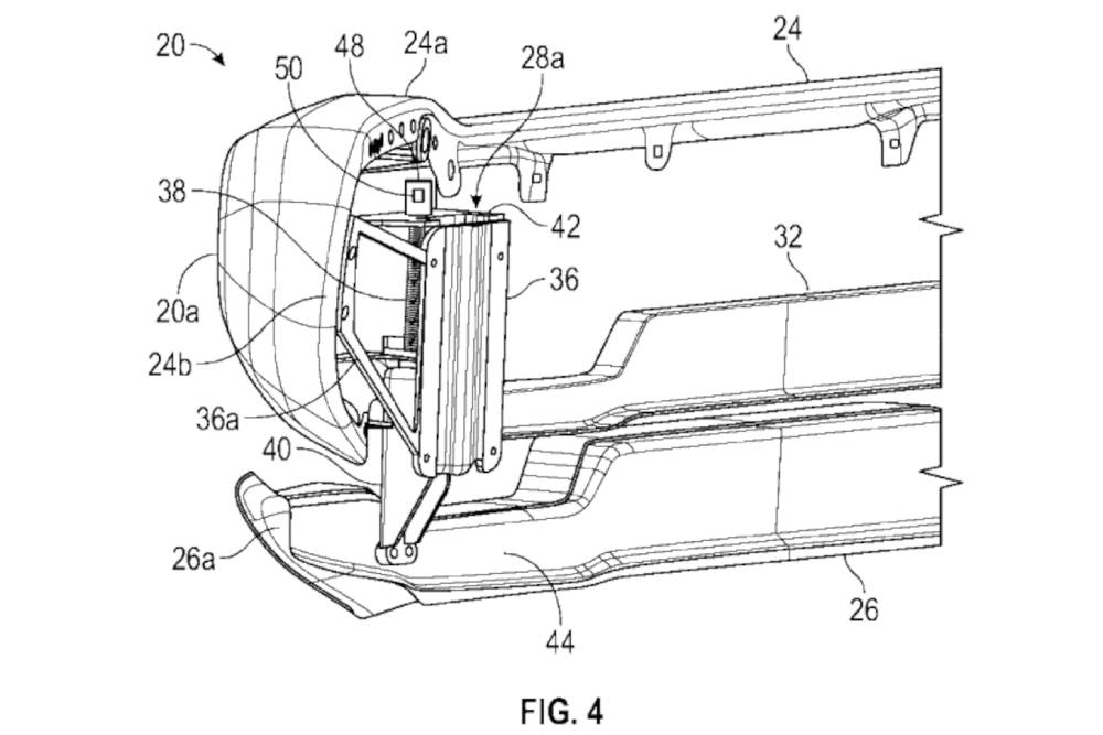
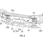
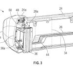
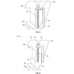
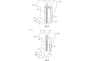
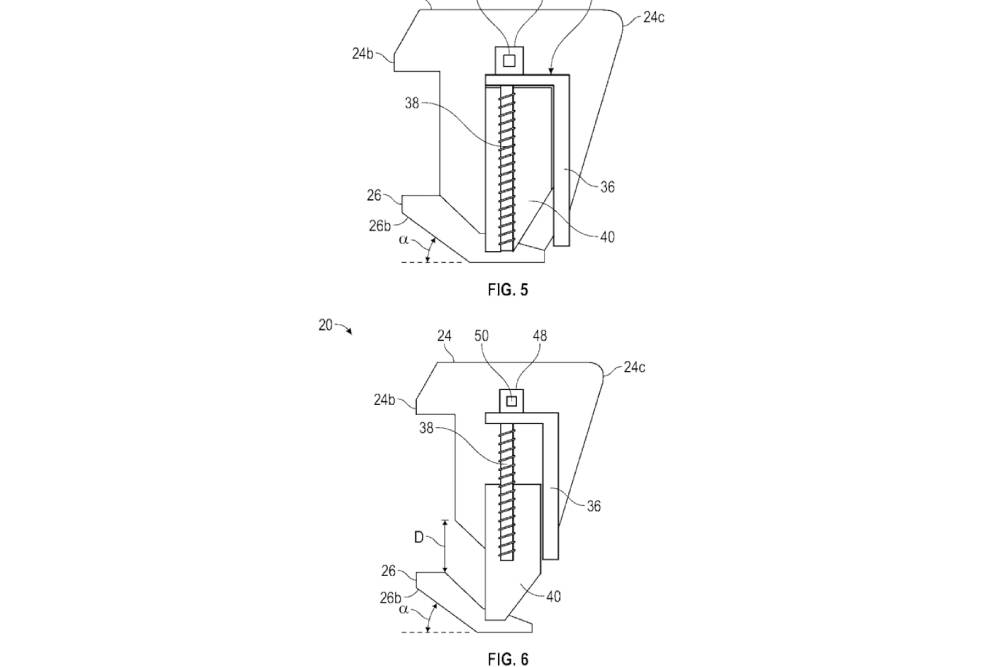
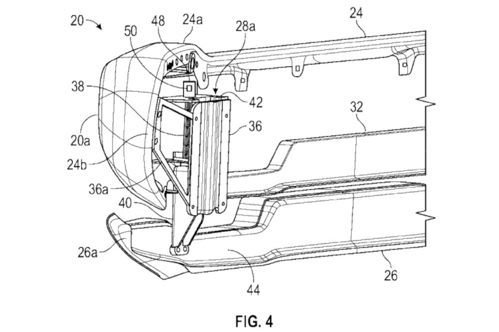
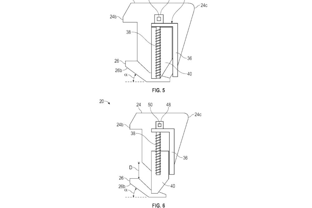
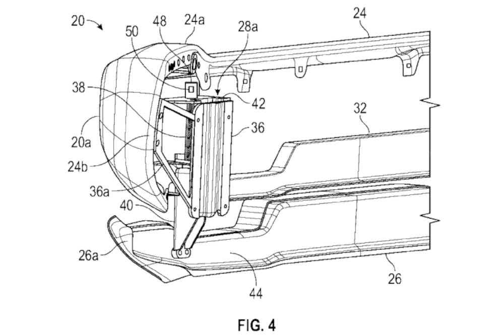
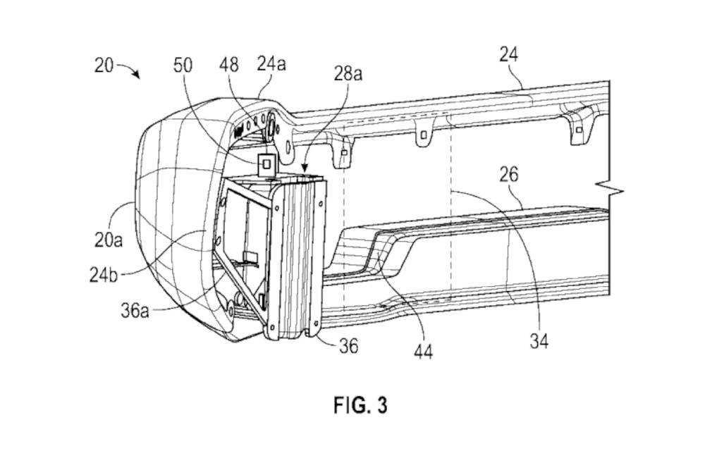
Σύμφωνα με τα σχέδια και την περιγραφή, η τεχνολογία αφορά ένα είδος ενεργού προφυλακτήρα. Μέσα σε αυτόν παίρνουν θέση ένα μοτεράκι, επενεργητές και μικροί βραχίονες. Αν το αυτοκίνητο διαγνώσει -μέσω των κλασικών αισθητήρων για τα επικουρικά συστήματα- πως επίκειται πρόσκρουση με πεζό, το κάτω μέρος του προφυλακτήρα εκτείνεται και δημιουργεί «μοχλό» με τα πόδια του θύματος, σηκώνοντάς τον πάνω από τη μούρη του οχήματος και στέλνοντάς τον στο καπό. Αν τελικά αποφευχθεί το ατύχημα, το εκτεινόμενο κομμάτι επανέρχεται στο φυσιολογικό του μέρος. Με λίγα και ποδοσφαιρικά λόγια, είναι σαν το αυτοκίνητο να κάνει τάκλιν στον άνθρωπο!
To «Μπλε Οβάλ» προσανατολίζεται να χρησιμοποιήσει αρχικά τον ενεργό προφυλακτήρα σε hardcore εκτός δρόμου κατασκευές, σαν το Bronco Raptor, οι οποίες συνοδεύονται από ακόμα περισσότερα μείον στην ασφάλεια των πεζών. Το σχήμα των προφυλακτήρων είναι ακόμα πιο αφιλόξενο, καθώς προτεραιότητα αποτελεί η μεγιστοποίηση της γωνίας προσέγγισης (47,2 μοίρες εν προκειμένω), ενώ πολλές φορές φοράνε αξεσουάρ (βλέπε «εργάτη» ή μπάρες με φώτα) που μόνο για χτύπημα με άνθρωπο δεν κάνουν.



































