Η Porsche προσφέρει μια ευρύτατη γκάμα από custom χρώματα για τα αυτοκίνητά της, μέσα από εξειδικευμένες βαφές που συνδυάζουν πολυστρωματικές εφαρμογές, δεκάδες ώρες φινιρίσματος και απίστευτης προσοχής στη λεπτομέρεια. Στο μέλλον, ωστόσο, οι Γερμανοί θέλουν να χρησιμοποιήσουν την ψηφιακότητα για το ντύσιμο των αμαξωμάτων.
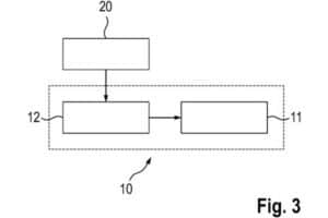
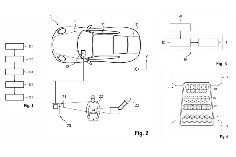
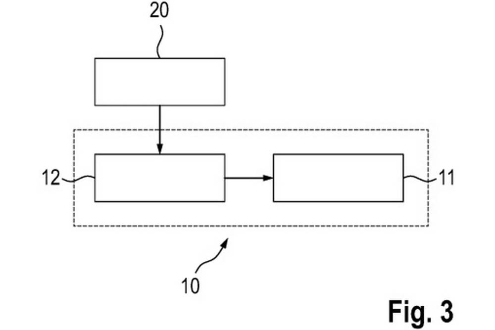
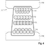
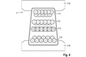
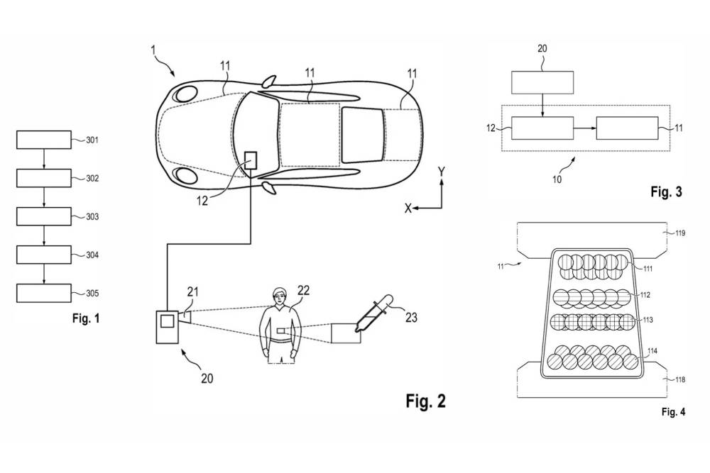
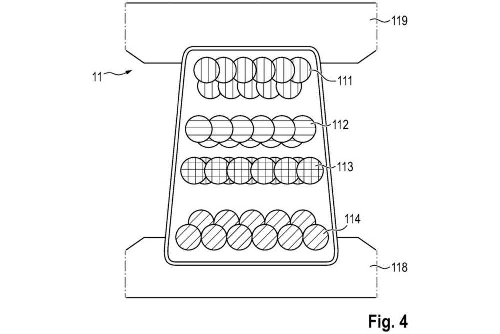
Σύμφωνα με πατέντα που κατατέθηκε στο Παγκόσμιο Γραφείο Ευρεσιτεχνιών, οι Γερμανοί εξελίσσουν μια τεχνολογία που θα επιτρέπει στους κατόχους των μελλοντικών Porsche να αλλάζουν το χρώμα των αυτοκινήτων τους, αναλόγως διάθεσης και ντυσίματος! Η πατέντα της Porsche αποτελείται από ειδικές κάμερες και ηλεκτρόνια πάνω στο αμάξωμα, τα οποία διεγείρονται μέσω ηλεκτρικού ρεύματος και όπως αναδιατάσσονται, αλλάζουν την απόχρωση του αμαξώματος. Οι κάμερες λειτουργούν σαν ένα είδος σκηνοθέτη, αναλύοντας τις γωνίες πρόσπτωσης του φωτός, τη φωτεινότητα του περιβάλλοντος, ακόμα και το τί φοράει ο οδηγός. Στο auto mode, αφού αναλύσουν τα δεδομένα, στέλνουν τα αντίστοιχα σήματα στην ηλεκτρονική διαχείριση και εκείνη με τη σειρά της αναδιαμορφώνει τα ηλεκτρόνια στην τύποις βαφή, ώστε να αποκτά το χρώμα που ταιριάζει καλύτερα στην εκάστοτε περίσταση.
Φυσικά τον τελευταίο λόγο έχει ο οδηγός, που μπορεί να κάνει το αυτοκίνητό του μέχρι να ποικίλει από μεταλλικό σε ματ χρώμα! Η εν λόγω τεχνολογία βέβαια εγείρει ερωτήματα σχετικά με τη συντήρηση και το κόστος επισκευών, καθώς -όπως πανεύκολα καταλαβαίνουμε- γιατρειά σε περίπτωση γρατζουνιάς εδώ, δεν μπορεί να δώσει κάποια αλοιφή. Παρόλα αυτά, η Porsche ισχυρίζεται πως μέχρι το τέλος του 2027 θα έχει μπει στις πρώτες 911 παραγωγής. Αξίζει να σημειωθεί πάντως, πως κάτι αντίστοιχο έχει παρουσιάσει από πέρσι η BMW, αν και ακόμα δεν το έχει περάσει στην παραγωγή.







































