Το drift mode και η υβριδική τεχνολογία ήταν οι δυο παράγοντες που οδήγησαν στο τέλος του Focus RS, καθώς η σημερινή του γενιά δεν μπορεί να τα υποστηρίξει. Η Ford είναι αποφασισμένη να μην βρεθεί στην ίδια θέση με τη Mustang, ετοιμάζοντας την ανάλογη εκδοχή της επόμενης γενιάς του θρυλικού pony car.
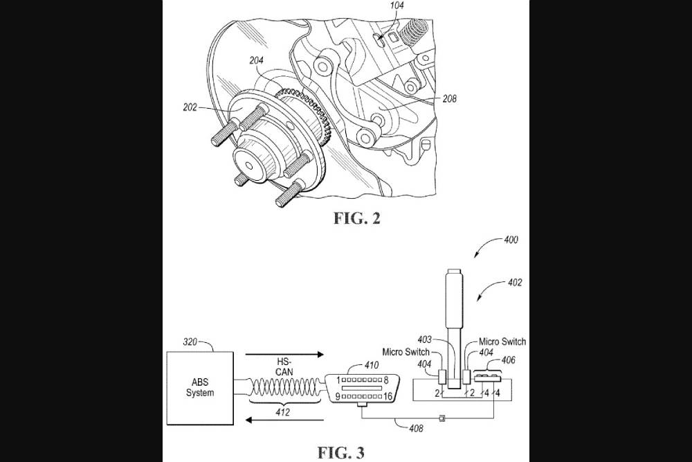
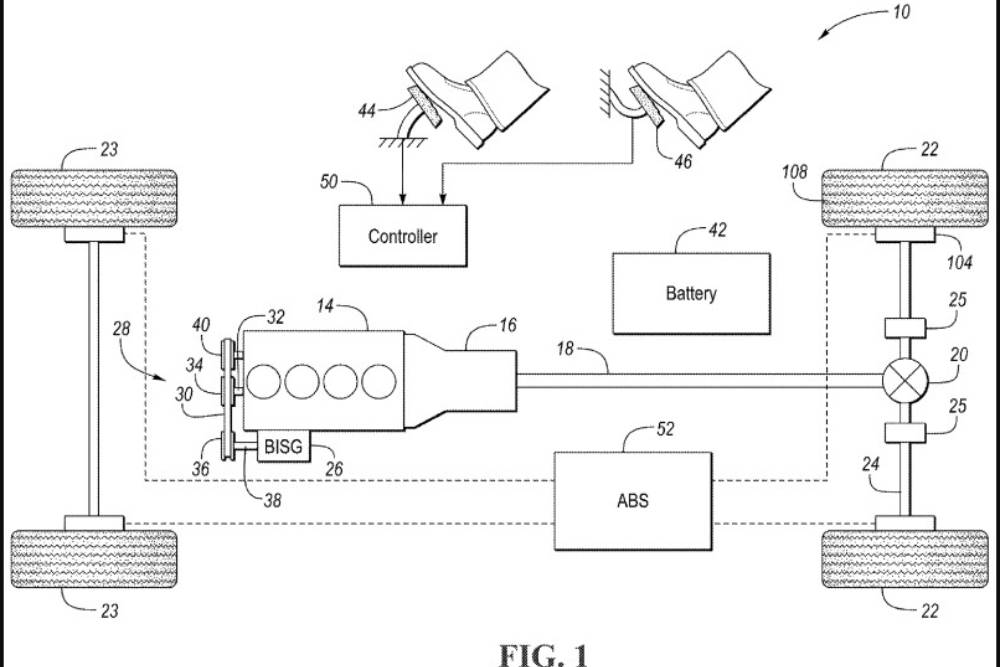
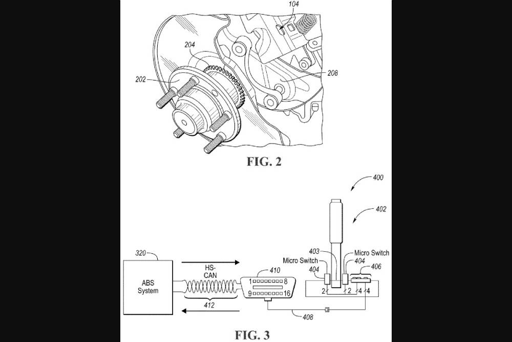
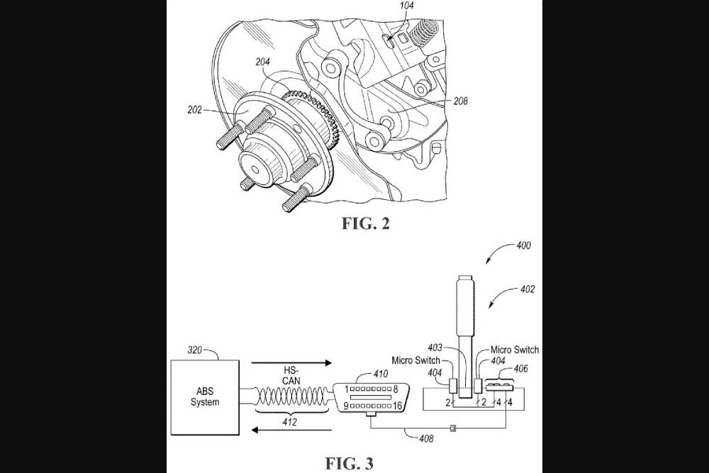
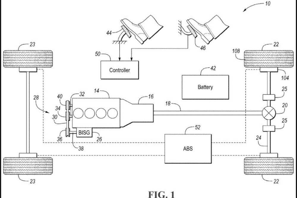
Όπως είδαμε στην αρχή της εβδομάδας, το «Μπλε Οβάλ» πατεντάρισε ένα νέο σύστημα drift mode με αποδέκτη τόσο μοντέλα με θερμικούς κινητήρες, όσο και ηλεκτρικούς. Δεν άργησαν να φουντώσουν οι φήμες για εξέλιξη ανάλογης Mustang, καθώς οι Αμερικανοί είχαν κάνει σχετικές αναφορές πέρσι. Οπότε τι πιο λογικό από την μετουσίωσή τους σε υλικό αποτέλεσμα, με την επόμενη γενιά ‘Stang; Στα σχέδια που κατατέθηκαν στο αρμόδιο Γραφείο Ευρεσιτεχνιών των Η.Π.Α., απεικονίζεται ένας τετρακύλινδρος κινητήρας κατά το διαμήκη άξονα, σε συνεργασία με ήπιο υβριδικό σύνολο BISG. Στον πίσω άξονα παρατηρούμε δυο σετ συμπλεκτών, εκατέρωθεν του διαφορικού, που αποτελούν δομικά συστατικά του drift mode.

Το νέο αυτό σύστημα απεμπλέκει τους τροχούς υπό φορτίο μέσω επενεργητή, τους μπλοκάρει μέσω των αντίστοιχων φρένων και εν συνεχεία αφήνει τον επενεργητή να ρυθμίζει το ποσό της προσλαμβανόμενης ροπής, βάση διαφοράς μεταξύ υπάρχουσας ταχύτητας και προσδοκώμενης». Σε απλούστερα λόγια, ο επενεργητής παίζει έναν ρόλο που θυμίζει μίξη μπλοκέ διαφορικού, χειρόφρενου και yaw control.
Η παρουσία τετρακύλινδρου μπλοκ στα σκίτσα της Ford ουσιαστικά «φωτογραφίζει» τον 2.3 EcoBoost, ο οποίος με τη χρήση 48βολτου υβριδικού συστήματος θα έχει αυξημένη απόδοση στην επόμενη Mustang, προσφέροντας παράλληλα μειωμένη κατανάλωση και -το κυριότερο- χαμηλότερες εκπομπές ρύπων. Βάλτε και το νέο drift mode στην εξίσωση, για μια προοπτική που θα βγάλει τον Vaughn Gittin Jr. σε όσους οδηγήσουν το επερχόμενο «πουλάρι» της Ford. Στο 2023 τοποθετείται η πρεμιέρα, με την υβριδική έκδοση να ακολουθεί αργότερα (μάλλον το 2025).



























