Όσοι συναναστρέφονται καθημερινά με αγροτικά (ή pick up, καθαρευουσιάνικα) αυτοκίνητα, ιδίως στις επαγγελματικές τους δραστηριότητες, γνωρίζουν για ποιο πρόβλημα μιλάμε. Το αιώνιο ζήτημα της σταθεροποίησης αντικειμένων στην καρότσα, για το οποίο επιστρατεύονται κάθε λογής ιμάντες και σχοινιά. Λύσεις, ωστόσο, που δεν έχουν αποτελεσματική εφαρμογή παντού. Για αυτό, η Ford θέλει να δώσει τη λύση μέσω της τεχνολογίας.
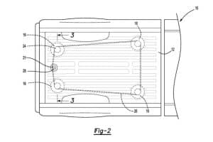
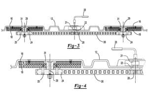
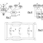
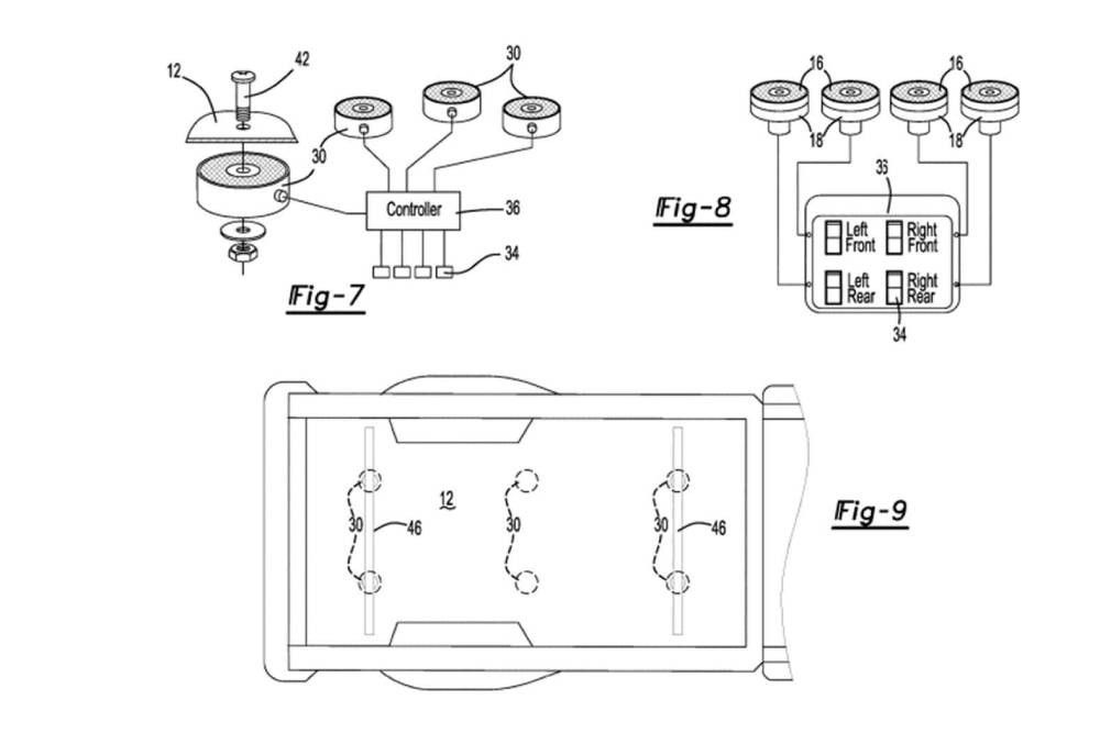
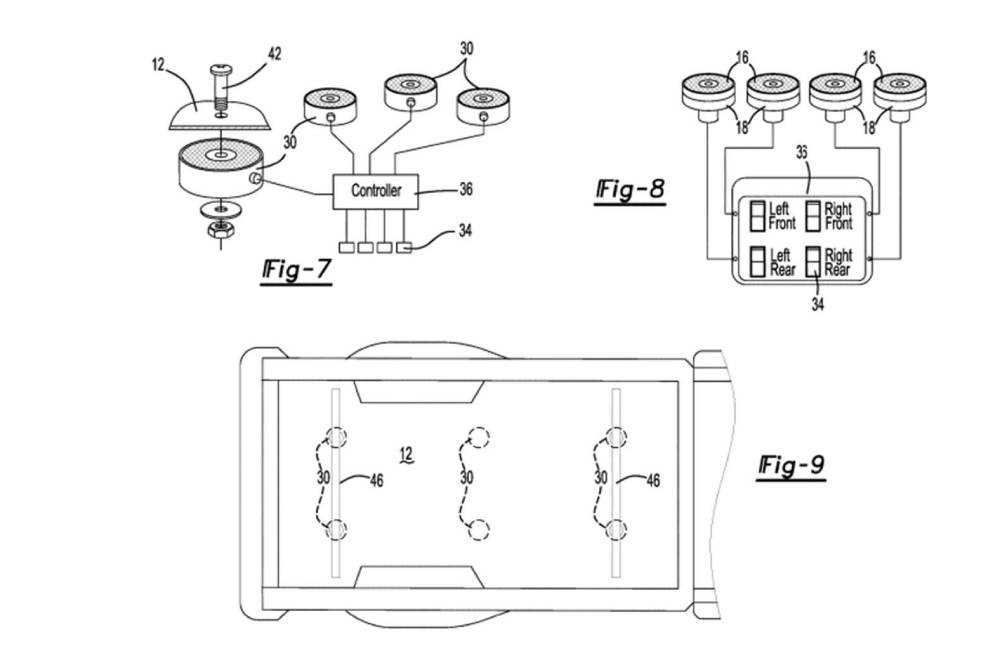
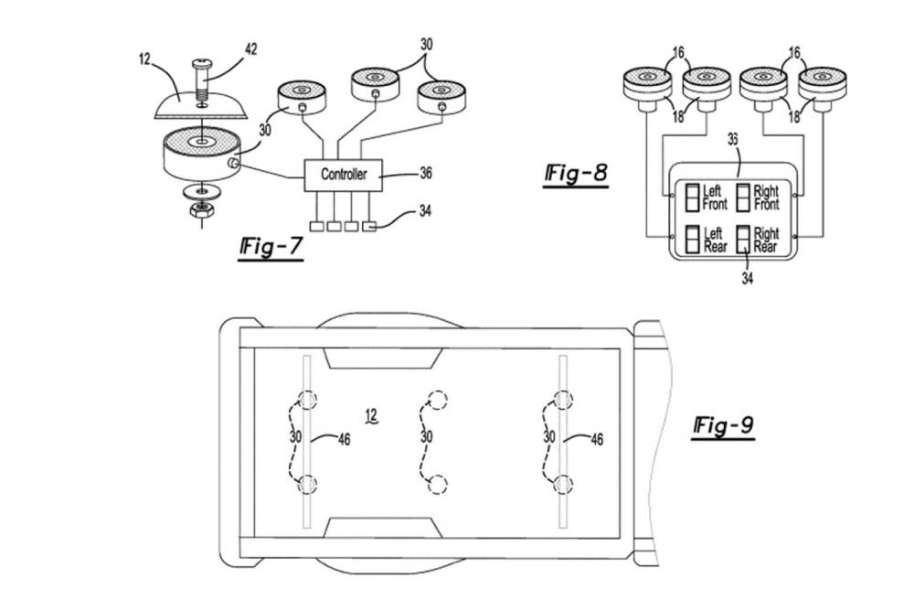
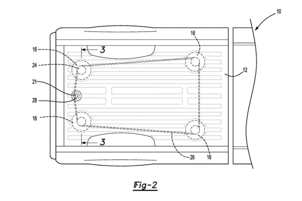
Σύμφωνα με ένα 10σέλιδο έγγραφο που κατέθεσε στο Αμερικανικό Γραφείο Ευρεσιτεχνιών, το «Μπλε Οβάλ» εξελίσσει ένα είδος μαγνητικού χώρου φόρτωσης! Ηλεκτρομαγνήτες παίρνουν θέση κάτω από το δάπεδο της καρότσας, σε συγκεκριμένα σημεία (μέχρι 6 στον αριθμό), δημιουργώντας ένα πάτωμα στο οποίο «κολλάνε» μεταλλικά αντικείμενα, όπως σωλήνες, εργαλεία, συσκευές, μηχανήματα κλπ. Η λειτουργία τους δεν είναι μόνιμη, καθώς ο οδηγός μπορεί να τους ενεργοποιεί/απενεργοποιεί κατά βούληση μέσω αντίστοιχης λειτουργίας στο σύστημα πολυμέσων ή ακόμα και μέσω smartphone, χρησιμοποιώντας την ανάλογη εφαρμογή!
Μέχρι τώρα είχαμε δει aftermarket προτάσεις με μαγνητικά κιβώτια και εξωτερικούς συνδέσμους, για την ασφάλιση αντικειμένων στις καρότσες pick up. Είναι η πρώτη φορά που βλέπουμε κατασκευαστή να ετοιμάζει μαγνητισμό του χώρου φόρτωσης, και μάλιστα όχι μόνο σε αγροτικά. Η πατέντα της Ford μπορεί να απεικονίζει pick up όχημα (το Maverick, κατά πάσα πιθανότητα), όμως η εφαρμογή της αναφέρεται επίσης για SUV και van. Απολύτως λογικό το δεύτερο, καθώς η χρηστικότητα των Transit, Tourneo και Transit Connect θα μπορούσε να αναβαθμιστεί πολλαπλά επίπεδα με την προσθήκη χώρου φόρτωσης, από τον οποίο δεν θα κουνάνε τα αντικείμενα.




































