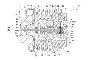
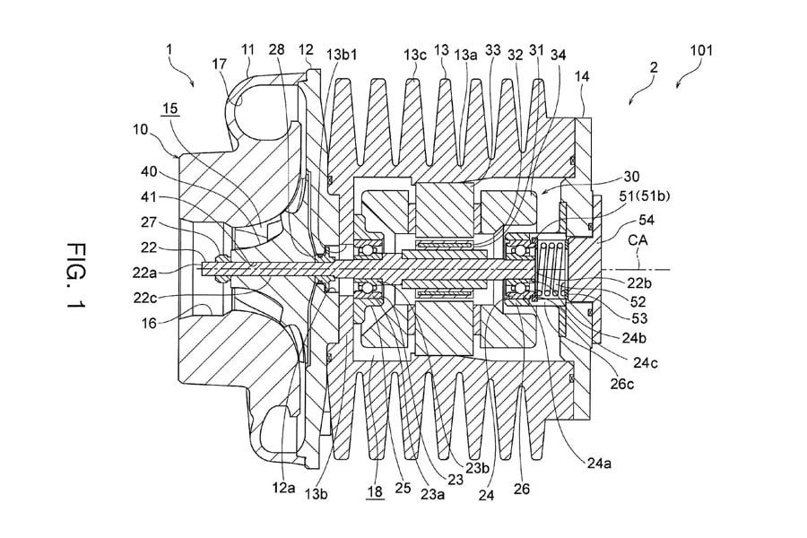
Στην δημοσιότητα, από το αμερικάνικο γραφείο πατεντών, ήρθαν σκίτσα που αφορούν στα σχέδια της Toyota για την κατασκευή νέου ηλεκτρικού κομπρέσορα, τον οποίο όπως φαίνεται θα δούμε σύντομα και στην παραγωγή.
Και λέμε σύντομα, γιατί πρόκειται για σκίτσα που απεικονίζουν σχέδια τα οποία κατατέθηκαν τον Μάιο του 2015, αλλά δημοσιεύθηκαν πριν λίγες ημέρες. Αυτό σημαίνει πως ήδη έχει δρομολογηθεί η κατασκευή του και έχει προφανώς αποφασιστεί το που θα τοποθετηθεί.
Ο νέος αυτός ηλεκτρικός κομπρέσορας θα είναι απλούστερος στην κατασκευή του αλλά και πιο ανθεκτικός, αφού θα προσφέρει μεγαλύτερη αντοχή και υψηλότερες επιδόσεις όταν περιστρέφεται σε υψηλές ταχύτητες.
Δείτε επίσης: Ο πρωτοπόρος 1.5 λτ. βενζινοκινητήρας πετρελαίου της Toyota
Αν και ακόμη δεν μπορούμε να ξέρουμε τι έχουν στο μυαλό τους οι μηχανικοί της Toyota, αυτό που μπορούμε να πούμε με σιγουριά είναι πως σύντομα θα δούμε αυτοκίνητα της Toyota με ηλεκτρικό κομπρέσορα.
Φυσικά το πρώτο που μας έρχεται στο μυαλό είναι η νέα Toyota Supra, χωρίς όμως να αποκλείουμε το ενδεχόμενο να δούμε το Toyota Yaris GRMN των 211 ίππων με ηλεκτρικό κομπρέσορα. Εξάλλου ήδη η Toyota έχει πει πως το μοτέρ 1.8 λτ. που θα έχει κάτω από το καπό του θα έχει κομπρέσορα.
Μένει λοιπόν να δούμε αν θα δικαιωθούμε όσον αφορά στις προβλέψεις μας.




















