Όσοι συναναστρέφονται καθημερινά με αγροτικά (ή pick up, καθαρευουσιάνικα) αυτοκίνητα, ιδίως στις επαγγελματικές τους δραστηριότητες, γνωρίζουν ότι δεν είναι όλα ρόδινα. Οι αγροτικοί συνοδοιπόροι έχουν αδιαμφισβήτητα προτερήματα, αλλά και διαχρονικές εργονομικές ατέλειες. Το άνοιγμα της καρότσας, και η επιβίβαση σε αυτή για παράδειγμα, αποτελούν τις πιο χαρακτηριστικές. Εδώ έρχεται η Ford, να δώσει μια για πάντα τη λύση.
Το «Μπλε Οβάλ» κατέθεσε πατέντα στο Γερμανικό Γραφείο Ευρεσιτεχνιών, σύμφωνα με την οποία η πόρτα της καρότσας και ο χώρος φόρτωσης αποκτούν αυξημένο ρόλο στην πολυχρηστικότητα του pick up, βοηθώντας ενεργά στην φορτοεκφόρτωση και ασφάλιση των αντικειμένων. Όπως δείχνουν τα σχέδια, η Ford σκοπεύει να αλλάξει ριζικά τόσο το πώς ανοίγει η πόρτα, όσο και το πώς χρησιμοποιείται. Καταρχάς, τέλος η μονοκόμματη διάταξη και το κλασικό άνοιγμα προς τα κάτω. Η καρότσα του μέλλοντος θα είναι δίφυλλη, ανοίγοντας σε δυο κομμάτια προς τα πλάγια. Διαμόρφωση που θα τη βοηθήσει να λειτουργεί και ως αποθηκευτικός χώρος, με το κάθε φύλλο να λειτουργεί σαν μικρό ντουλαπάκι εργαλείων. Ήδη η Ford εφαρμόζει κάτι ανάλογο με τα πλαϊνά του εσωτερικού της καρότσας, συνεπώς το επόμενο βήμα είναι η έξτρα λειτουργικότητα από την πόρτα. Και δεν σταματά εδώ.
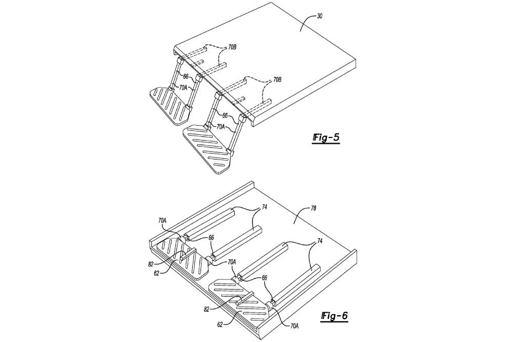
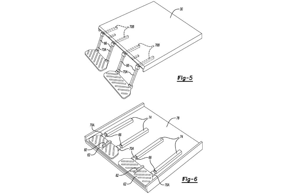
Ο ίδιος ο χώρος φόρτωσης βγαίνει από τη «βολή» της υποδοχής αντικειμένων, βοηθώντας πια κανονικά στη διαδικασία. Η πατέντα των Αμερικανών περιλαμβάνει δυο διαφορετικές εκτελέσεις, στο ίδιο χρηστικότατο σκεπτικό. Το δάπεδο της καρότσας αποκτά είτε πτυσσόμενη μορφή, εκτεινόμενο προς τα έξω για να βοηθά στη φόρτωση βαριών/ογκοδών αντικειμένων, είτε διαθέτει δυο ανακλινόμενα σκαλοπάτια προς διευκόλυνση της πρόσβασης στην καρότσα. Η μία επιλογή, ωστόσο, δεν αναιρεί την άλλη. Το δάπεδο μπορεί τόσο να επεκταθεί όσο και να «φυτρώσει» τα σκαλοπάτια, εκτινάσσοντας το βαθμό αξιοποίησης και λειτουργικότητας. Καρδιά του συστήματος είναι ένα ηλεκτρικό μοτέρ στην πλάτη της καμπίνας, που τροφοδοτεί μια σειρά από επενεργητές και ρομποτικούς βραχίονες. Τα σκαλοπάτια μάλιστα έχουν πατενταριστεί και ξεχωριστά, στο αντίστοιχο Γραφείο των Ηνωμένων Πολιτειών.

Στα σκίτσα βλέπουμε το F-150, αλλά καταλαβαίνουμε πως εύκολα θα μπορούσε η ίδια τεχνολογία να εφαρμοστεί και στο δικό μας Ranger. Η διαφορά στο μήκος της καρότσας, εξάλλου, δεν είναι πολύ μεγάλη: 1,52 μέτρα το Ranger, 1,67 μ. το F-150 (στα διπλοκάμπινα).




































