Οι εναλλακτικές πηγές ενέργειας αφορούν πλέον και αυτοκινητοβιομηχανίες βεληνεκούς Ferrari. Διόλου τυχαία συναντάμε 2 plug-in υβριδικά μοντέλα στο Μαρανέλο, τα οποία πηγαίνουν και «καρφί» στις πωλήσεις, ενώ έρχεται και το πρώτο αμιγώς ηλεκτρικό. Πέραν τούτων, όμως, οι Ιταλοί εξετάζουν ακόμα διάφορες οδούς. Μια εξ αυτών είναι το υδρογόνο, σε έναν επαναστατικό τύπο ανεστραμμένου κινητήρα.
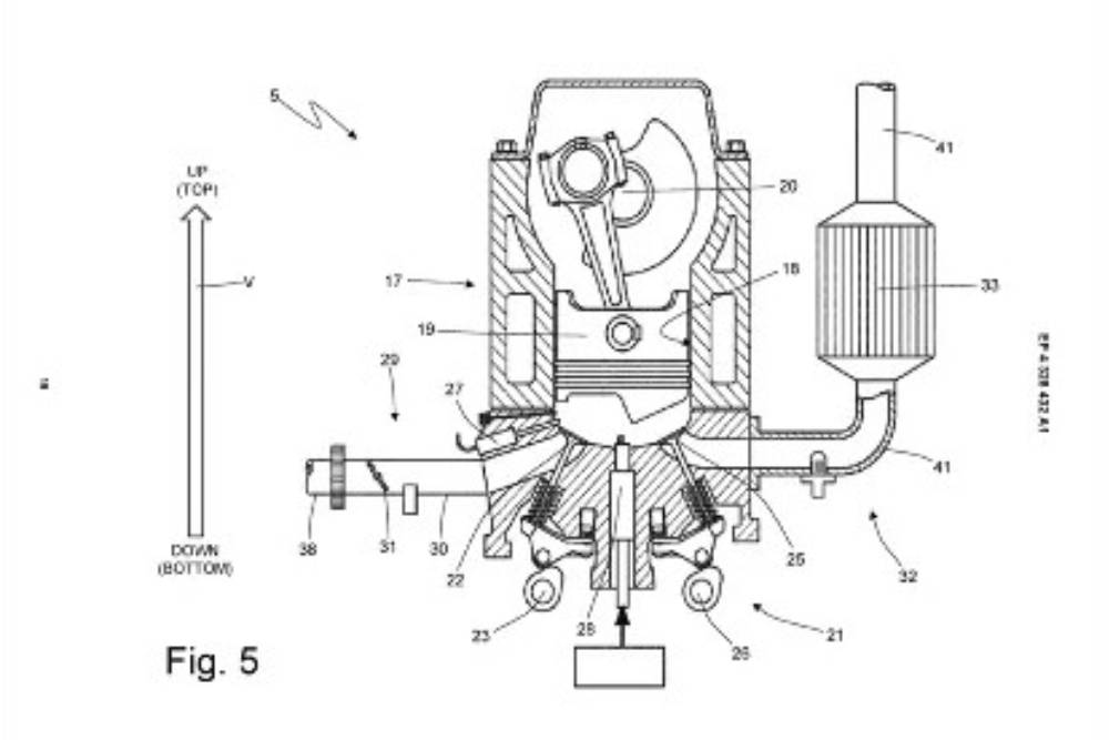
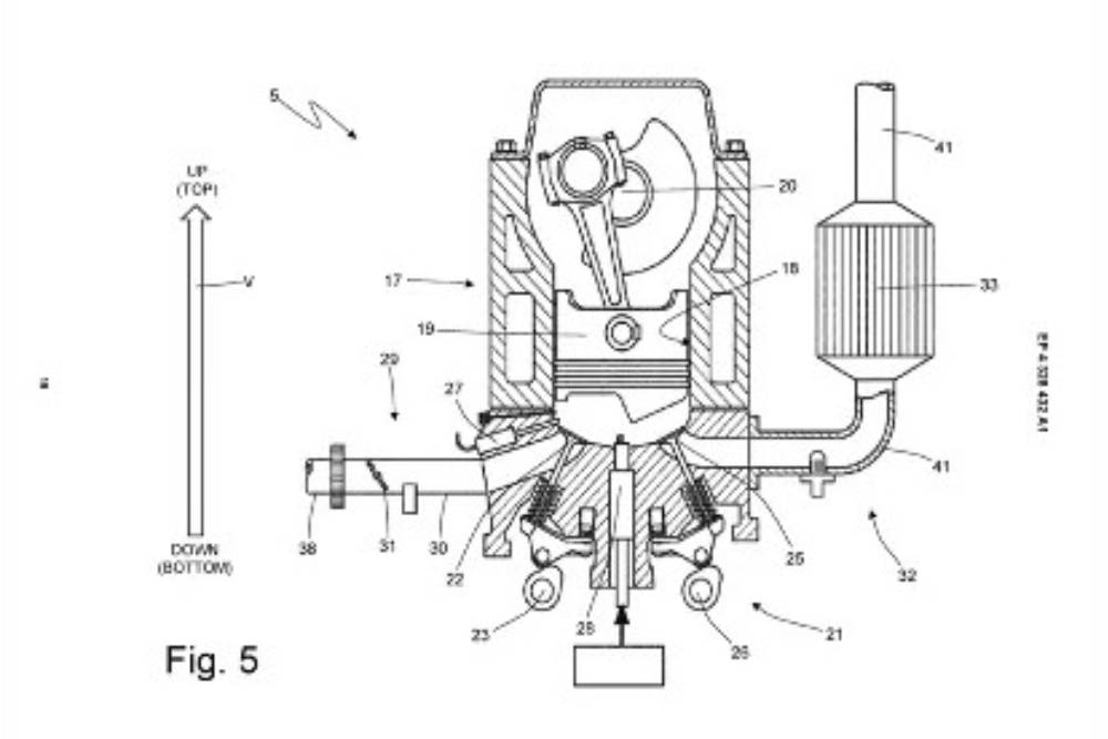
Η αποκάλυψη έρχεται από το Espacenet, που αλίευσε μια πατέντα της Ferrari για κινητήρα εσωτερικής καύσης με καύσιμο το υδρογόνο. Αυτός είναι ο τίτλος του εγγράφου, με την ανάλυσή του αφενός να αποκαλύπτει πως πρόκειται για εξακύλινδρο σύνολο, αφετέρου πως τοποθετείται ανάποδα! Για λόγους χωροταξίας και αεροδυναμικής, οι μηχανικοί του Μαρανέλο κυριολεκτικά φέρνουν τα πάνω-κάτω και βάζουν τον κινητήρα ανεστραμμένα – με τις πιστονιές, δηλαδή, να «βαράνε» προς τα κάτω!

H ρηξικέλευθη προσέγγιση εξετάζεται να εφαρμοστεί ώστε να καταστεί δυνατή η τοποθέτηση ενός μεγαλύτερου διαχύτη, με βαθύτερες οπές που θα «ρουφάνε» το αυτοκίνητο προς τα κάτω, βοηθούμενες από την ίδια φορά της στροφορμής των εμβόλων κατά την καύση. Παράλληλα η εν σειρά διάταξη των κυλίνδρων επιτρέπει την τοποθέτηση των δεξαμενών του υδρογόνου εκατέρωθεν του μοτέρ, βελτιώνοντας την κατανομή των μαζών – άρα και το στήσιμο. Προφανώς τα ανωτέρω αποτελούν προϊόντα πατέντας, από τις πολλές που καταθέτουν οι αυτοκινητοβιομηχανίες, δίχως να σημαίνει απαραίτητα πως θα βρουν το δρόμο προς την παραγωγή. Ή, για να το θέσουμε διαφορετικά, δεν σημαίνει πως όλα θα βρουν το δρόμο προς την παραγωγή.
Το «άνω-κάτω» μοτέρ αλήθεια είναι πως πολύ δύσκολα θα το δούμε σε μηχανοστάσιο κανονικής Ferrari. Η προοπτική του υδρογόνου ως καυσίμου, όμως, διατηρεί πολύ πιο βάσιμες πιθανότητες. Ούτως ή άλλως, ήδη βγαίνει από τις πύλες του Μαρανέλο εξακύλινδρο υβριδικό μοντέλο (η 296 GTB). Γιατί να μην το γυρίσει σε H2 από αμόλυβδη, αν είναι να διατηρηθούν οι Μ.Ε.Κ. στους πάγκους εργασίας;





































