Πολλές φορές αναφερόμαστε στις Ferrari με χαρακτηρισμούς όπως «αεροπλάνο», λόγω της ταχύτητας που μπορούν να αναπτύξουν. Το Μαρανέλο φαίνεται πως θέλει να περάσει στην κυριολεκτική διάσταση του όρου, εξελίσσοντας προωθητήρες jet για τα αυτοκίνητά του!
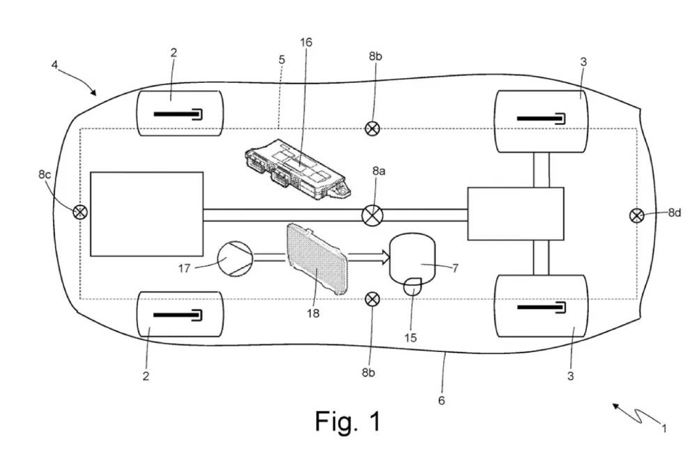
Η τελευταία πατέντα των Ιταλών περιλαμβάνει ένα περίπλοκο σύστημα με προωθητήρες γύρω, ακόμα και κάτω από το αμάξωμα, προκειμένου όχι μόνο να αυξάνουν την ταχύτητα στις ευθείες, αλλά και στις στροφές. Οι προωθητήρες αυτοί δεν χρησιμοποιούνται δηλαδή μόνο για λόγους επιτάχυνσης, αλλά επίσης για την επιβράδυνση και την αύξηση της κάθετης δύναμης. Όπως δείχνουν τα σκίτσα, τα «πιστολάκια» δεν σημαδεύουν μόνο προς τα πίσω, ενισχύοντας την έμπροσθεν κίνηση του αυτοκινήτου. Υπάρχουν προωθητήρες μπροστά, αλλά και πάνω, βοηθώντας στο φρενάρισμα και σπρώχνοντας το όχημα προς τα κάτω. Κάτι σαν την αντίστροφη ώθηση που χρησιμοποιούν τα αεροπλάνα, για τη μείωση της ταχύτητας σε έκτακτες καταστάσεις ή τις προσγειώσεις.

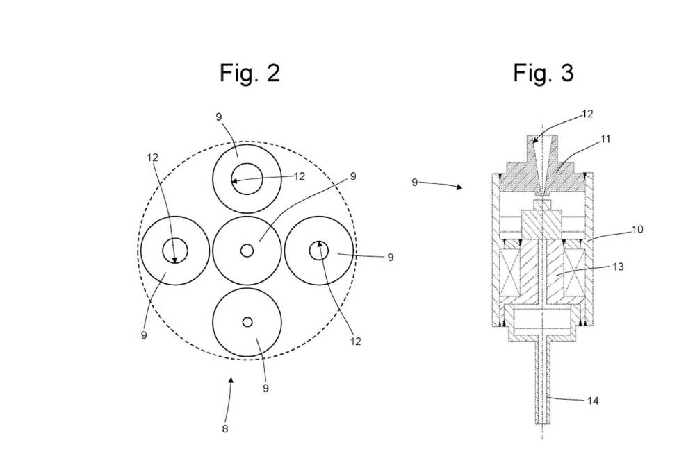
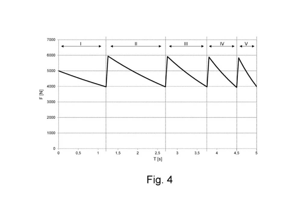
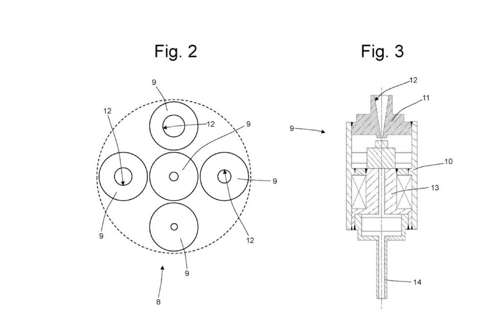
Το σύστημα της Ferrari χρησιμοποιεί αέρα σε τεράστιες πιέσεις, που κυμαίνονται μεταξύ 700 και 900 bar (10.000-13.000 psi). Κάθε προωθητήρας αποτελείται από 5 σωλήνες, καθένας με διαφορετικό μέγεθος και διάμετρο στο ακροφύσιο. Ο αέρας αποθηκεύεται σε μια δεξαμενή υψηλής πίεσης, παρόμοια με εκείνες που χρησιμοποιούνται στα υδρογονοκίνητα οχήματα για την αποθήκευση H2, και εκτοξεύεται με δύναμη έως 5.000-6.000 Nm σε υπερηχητική ταχύτητα. Το πόσο και από πού απελευθερώνεται, εξαρτάται από την πληρότητα της δεξαμενής. Όταν είναι γεμάτη, ο αέρας οδηγείται μέσα από τις μεγαλύτερες σωληνώσεις και εξάγεται από τα φαρδύτερα ακροφύσια. Όταν έχει πέσει η πίεση, αναλαμβάνουν τα μικρότερα ακροφύσια για να δημιουργήσουν υποπίεση και να διατηρήσουν την ώθηση σε παρεμφερή επίπεδα (περίπου όπως όταν βάζουμε την πίεση στο λάστιχο νερού, με το δάχτυλό μας).
Κατ’ αυτό τον τρόπο, οι μηχανικοί και αεροδυναμιστές της Ferrari θέλουν όχι απλά να διαχειρίζονται τη ροή του αέρα (όπως στα ενεργά βοηθήματα, ας πούμε), αλλά να δημιουργούν τη δική τους ανάλογα τις συνθήκες. Παραδείγματος χάρη, μια ηλεκτρονικά ελεγχόμενη αεροτομή έχει επίδραση στα δυναμικά χαρακτηριστικά, μόνο από κάποια ταχύτητα και πάνω – κι εκεί, μέχρι ενός σημείου. Οι προωθητήρες αντίθετα, δεν έχουν τέτοιους περιορισμούς. Δεν εξαρτώνται από γωνίες πρόσπτωσης, ταχύτητες αέρα, μεγέθη πάνελ κλπ. Δίνουν φουλ κάθετη δύναμη παντού και πάντα, «φυσώντας» το αυτοκίνητο προς την άσφαλτο. Με τον ίδιο τρόπο μπορούν να βελτιώσουν την ευελιξία τους στις στροφές, τη σταθερότητα στις ευθείες, την αποτελεσματικότητα των φρένων και ούτω καθεξής.

Σύμφωνα με τη Ferrari, η όλη κατασκευή ζυγίζει 40-45 κιλά και το κυριότερο προσόν της είναι ότι δεν βασίζεται απλά στο γέμισμα της δεξαμενής με αέρα. Σε μια περιγραφή της πατέντας αναφέρεται λειτουργία ανάκτησης ενέργειας, όπου οι συμπιεστές αποθηκεύουν αέρα κατά το φρενάρισμα όντας συνδεδεμένοι με τους άξονες. Σε μα άλλη, σε περίπτωση που αδειάσει το ρεζερβουάρ, τότε μπορούν να λειτουργήσουν με καύσιμο που αντλούν από το κύκλωμα τροφοδοσίας του κινητήρα. Με άλλα λόγια, σαν κανονικοί κινητήρες jet!
































