- Δείτε τι ετοιμάζει η Porsche για την παθητική ασφάλεια των κάμπριο
Οι εταιρείες διαρκώς εξελίσσουν την ασφάλεια των αυτοκινήτων τους και όπως είναι λογικό θέλουν το καλύτερο δυνατό αποτέλεσμα ακόμη και αν πρόκειται για ανοικτό μοντέλο. Για αυτό το λόγο η Porsche προχώρησε στην κατοχύρωση μιας νέας ευρεσιτεχνίας.
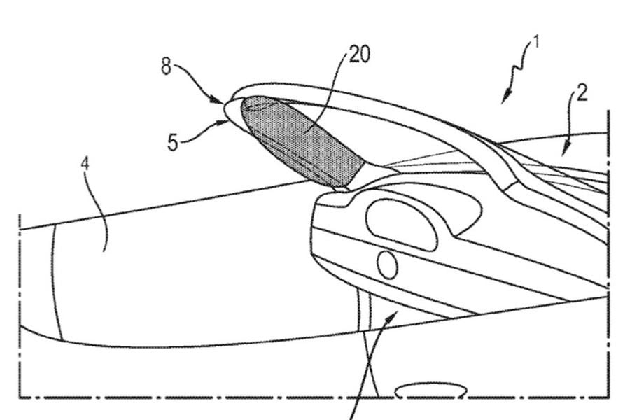
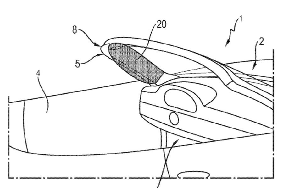
Ο λόγος για έναν αερόσακο ο οποίος θα θυμίζει εν πολλοίς τους αερόσακους που τοποθετούνται στις εμπρός κολόνες των κλειστών αυτοκινήτων.
Στην περίπτωση των κάμπριο μοντέλων της Porsche ο αερόσακος αυτός, σύμφωνα με τα όσα βλέπουμε στο σχέδιο ευρεσιτεχνίας, στην δεύτερη εικόνα επάνω, που κατατέθηκε από την γερμανική μάρκα, βρίσκεται τοποθετημένος στην εμπρός κολόνα και δεν θα εκτείνεται προς το προσκέφαλο του καθίσματος, αλλά θα αγκαλιάζει την ίδια την κολόνα.
Δείτε επίσης:
Porsche Cayenne τράβηξε Airbus A380 285 τόνων! (+video)
Πωλείται τρακαρισμένη Porsche 718 Cayman με 3.000 χλμ.
Ροπή ρεκόρ για την diesel Porsche Panamera με επιδόσεις supercar























