- Η Hyundai φτιάχνει τον πρώτο κινητήρα με κυλίνδρους διαφορετικού κυβισμού!
- Η Hyundai φτιάχνει τον πρώτο κινητήρα με κυλίνδρους διαφορετικού κυβισμού!
- Η Hyundai φτιάχνει τον πρώτο κινητήρα με κυλίνδρους διαφορετικού κυβισμού!
- Η Hyundai φτιάχνει τον πρώτο κινητήρα με κυλίνδρους διαφορετικού κυβισμού!
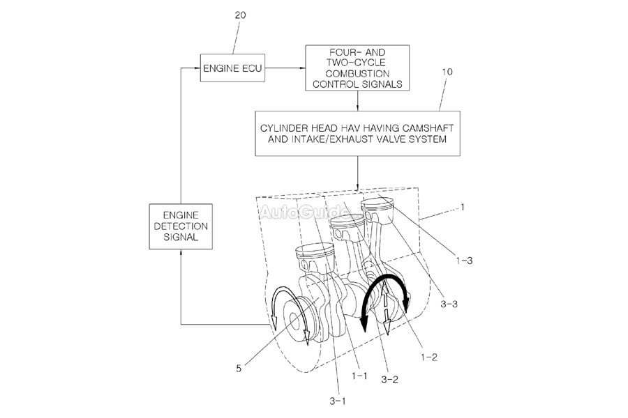
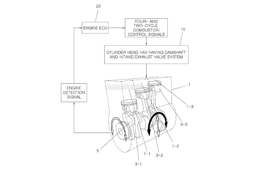
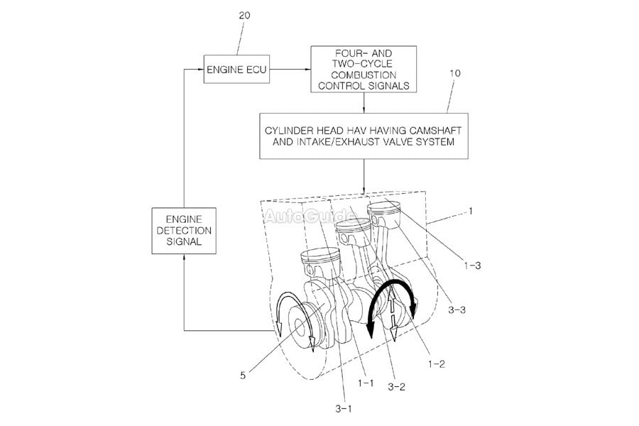
Διέρρευσαν στο διαδίκτυο τα επίσημα σχέδια ενός καινοτόμου κινητήρα της Hyundai, ο οποίος έχει τη δυνατότητα να περιλαμβάνει στα σωθικά του κυλίνδρους με διαφορετικό κυβισμό! Τα σχέδια αυτά χρησιμοποιήθηκαν για να πατενταριστεί από την εταιρεία η νέα αυτή τεχνολογία, με το Ευρωπαϊκό Γραφείο Ευρεσιτεχνίας να δίνει την πιστοποίηση την περασμένη Τετάρτη.
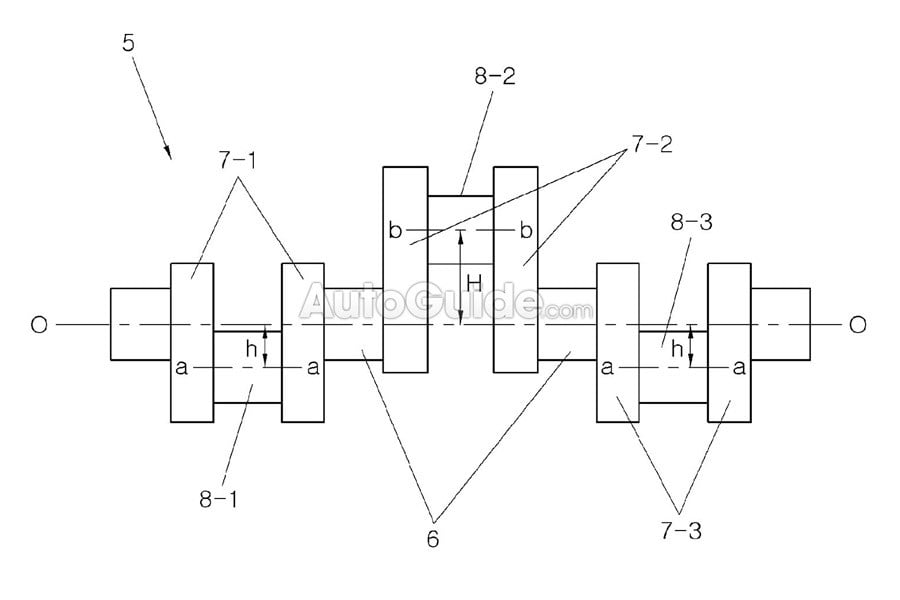
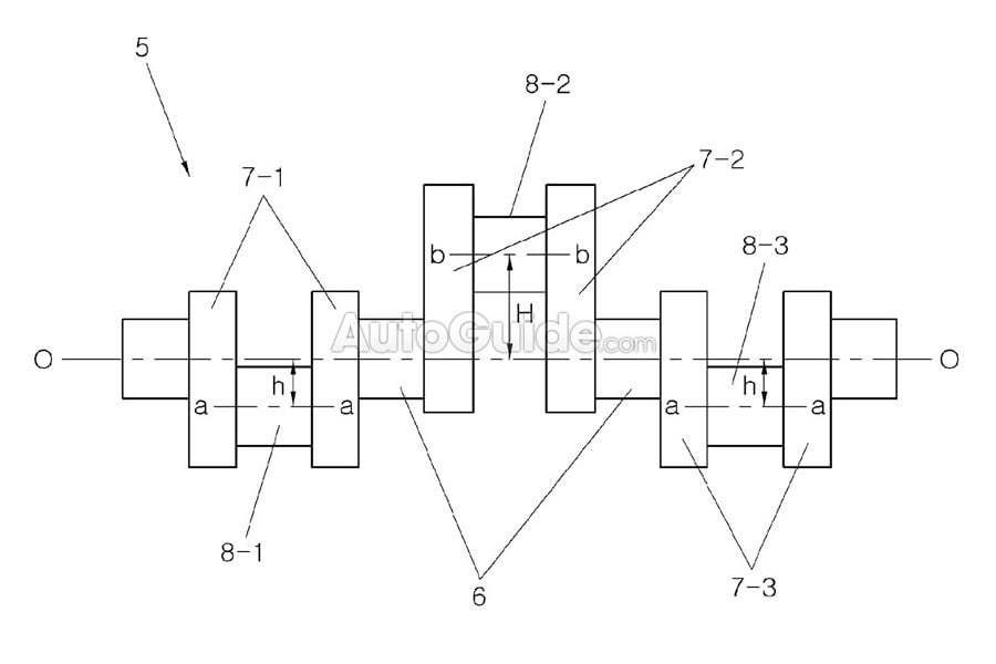
Σύμφωνα με τη νέα τεχνολογία της Hyundai, μπορεί να κατασκευαστεί ένας τετρακύλινδρος κινητήρας στον οποίο οι κύλινδροι να έχουν διαφορετική χωρητικότητα μεταξύ τους, δηλαδή ο 1 και ο 4 να βρίσκονται στα 0,4 λίτρα και ο 2 με τον 3 στα 0,35 λίτρα.
Διαβάστε ακόμα: Ποια μάρκα φτιάχνει τα καλύτερα αυτοκίνητα;
Η Hyundai τονίζει ότι η καινοτόμος αυτή τεχνολογία λύνει πολλά προβλήματα και περιορισμούς που τίθενται από έναν παραδοσιακό κινητήρα με κυλίνδρους ίδιου μεγέθους, ο οποίος έχει ένα συγκεκριμένο όριο λειτουργίας που σύμφωνα με την εταιρεία είναι ανεπαρκές, ενώ απαιτεί και πάρα πολλή μηχανική ενέργεια για να λειτουργήσει στο ρελαντί.
Για να καταφέρουν να δημιουργήσουν τον νέο κινητήρα οι μηχανικοί της Hyundai έχουν συνδέσει στον μοτέρ έναν ηλεκτροκινητήρα, ο οποίος χρησιμοποιείται για να ελέγχει και να ισορροπεί τη ροπή από τους διαφορετικού μεγέθους κυλίνδρους, αλλά και για να μειώνει τον θόρυβο και τους κραδασμούς που προκύπτουν από αυτή την άνιση διάταξη.
Διαβάστε ακόμα: Τα νέα μικρά SUV της χρονιάς
Ως προς το μέλλον της νέας αυτής τεχνικής, προς το παρόν η Hyundai δεν δίνει κάποιες πληροφορίες για το πόσο έχει προχωρήσει η εξέλιξη του κινητήρα, πόσους κυλίνδρους θα έχει το μοτέρ, ποια μοντέλα της εταιρείας θα το λάβουν και πολλά άλλα.
Είμαστε λοιπόν εν αναμονή για να δούμε ποιο θα είναι το μέλλον του νέου μοτέρ και πότε η Hyundai θα μας το παρουσιάσει σε κάποιο πρωτότυπο, καθώς και φυσικά, ποια θα είναι τα οφέλη που θα προσφέρει στην πράξη η τεχνολογία αυτή.
































