Ένας με ένας οι κατασκευαστές αφήνουν πίσω τις υποσχέσεις για αμιγώς ηλεκτρικό μέλλον, επαν-ανακαλύπτοντας τη χάρη και τις αρετές του πατροπαράδοτου κινητήρα εσωτερική καύσης. Η BMW ήταν από τις λίγες (ελάχιστες, μην πούμε) εταιρίες που δεν έλεγε ότι θα γινόταν φουλ ηλεκτρική, ακόμα και πριν υπάρξει η ανασκούμπωση της E.E. σχετικά με τη νομοθεσία και τις υποχρεωτικές καταργήσεις των θερμικών μοτέρ. Άρα ήταν και από τις λίγες που συνέχιζε να δουλεύει με τις Μ.Ε.Κ., απολαμβάνοντας τώρα προβάδισμα στην εξέλιξη της επόμενης γενιάς εμβολοφόρων (κι όχι μόνο, βάσει Mazda).
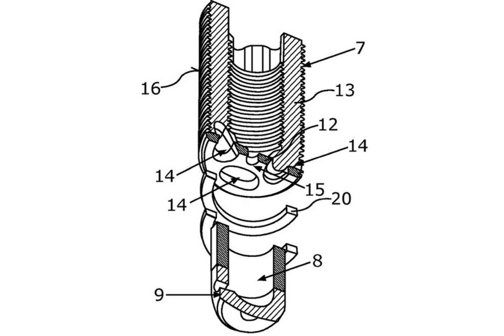
To Auto Motor und Sport αλίευσε τα έγγραφα από την πατέντα που κατέθεσαν προς κατοχύρωση οι Βαυαροί, στο αντίστοιχο Γραφείο Ευρεσιτεχνιών της Γερμανίας. Τί μας αποκαλύπτουν; Έναν επαναστατικό βενζινοκινητήρα, στο επίκεντρο του οποίου αναλαμβάνει η τεχνοτροπία του προθαλάμου. Μία εφαρμογή που είχαμε αναλύσει εκτενώς σε προηγούμενο άρθρο και χρησιμοποιείται ευρέως από πολλές ομάδες της Formula 1, μεταξύ των και η Scuderia Ferrari. Η τεχνική αυτή επί της ουσίας συνδυάζει έμμεσο και άμεσο ψεκασμό. Στον έμμεσο, μια μικρή ποσότητα καύσιμου μίγματος ψεκάζεται σε έναν μικρό θάλαμο ( «αντιθάλαμος» αποκαλείται στην περιγραφή της πατέντας) και αναφλέγεται, από ένα τυπικό μπουζί.

Αυτό το προ-μίγμα προχωρά στη συνέχεια στο θάλαμο καύσης, όπου ψεκάζεται άμεσο το υπόλοιπο καύσιμο. Εκεί το ήδη αναφλεγμένο κομμάτι αναμειγνύεται με το κυρίως, εξασφαλίζοντας ταχύτατη και ομοιογενή πλήρωση του θαλάμου σε όλα του τα σημεία, μαζί με βέλτιστη μοριοποίηση των στοιχείων κατά την ανάφλεξη. Το μεγαλύτερο πλεονέκτημα εντοπίζεται στην ομοιογένεια του μίγματος, το οποίο συνήθως κοντά στα μπεκ (και κατ’ επέκταση τα μπουζί) έχει διαφορετικό λόγο αέρα-καυσίμου από τον υπόλοιπο θάλαμο. Εδώ αυτή η ανωμαλία αντιμετωπίζεται από τον προθάλαμο, το έτοιμο μίγμα του οποίου διαχέεται στο «ωμό» του κυρίως θαλάμου και το ομογενοποιεί, μειώνοντας ταυτόχρονα το χρόνο της καύσης και τη θερμοκρασία στον κύλινδρο. Παρόμοια τεχνολογία χρησιμοποιεί και η Maserati στο μοτέρ της MC20, μόνο που εκεί ως προθάλαμοι χρησιμοποιούνται οι αυλοί εισαγωγής.
Τα οφέλη του υπό εξέλιξη μοτέρ της BMW; Αυξημένη απόδοση, ομαλότερη λειτουργία, χαμηλότερες εκπομπές ρύπων και κατανάλωσης, μεγαλύτερη θερμική απόδοση. Προς το 2026 τοποθετείται το ντεμπούτο σε αυτοκίνητο παραγωγής, με την πρεμιέρα να προγραμματίζεται για το μηχανοστάσιο της επόμενης X5.




































