Η Toyota επενδύει στο χειροκίνητο κιβώτιο, όπως αποδεικνύουν τα GR Corolla/GR Yaris που διατίθενται αποκλειστικά με τέτοια μετάδοση, αλλά και η αντίστοιχη Supra. Τα μοντέλα επιδόσεων θα συνεχίσουν να βγαίνουν από το Αΐτσι και στο μέλλον, αλλά αναμενόμενα θα είναι υβριδικά. Κανένα πρόβλημα για τους Ιάπωνες, που ετοιμάζουν το δέον σύστημα μετάδοσης.
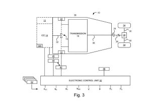
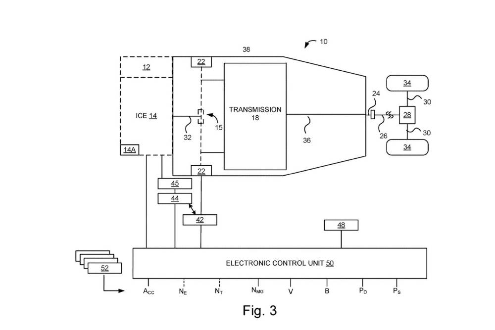
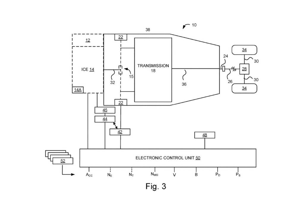
Όπως αποκάλυψε το The Drive, το Φλεβάρη δημοσιεύτηκε από το Αμερικανικό Γραφείο Ευρεσιτεχνιών μια πατέντα της Toyota που αφορά έναν νέο τύπο μετάδοσης, για υβριδικά συστήματα σε αυτοκίνητα επιδόσεων. Τα σχέδια είχαν κατατεθεί από το 2021, αλλά μόλις πριν 3 μήνες ήρθαν στη δημοσιότητα και προ ολίγων ημερών τα ανακάλυψαν οι Αμερικανοί συνάδελφοι, δίνοντάς μας μια εμπεριστατωμένη ιδέα της τεχνολογίας που εξελίσσει η Toyota. Καταρχάς, δείγμα του πόσο ποντάρει σε αυτή είναι ότι στα σκίτσα δεν χρησιμοποιείται κάποιος από της εκπροσώπους της Gazoo Racing, αλλά η Supra MK4! Όχι ότι σκοπεύουν οι Ιάπωνες να την επαναφέρουν στην παραγωγή, αλλά πρόκειται για πολύ ευχάριστη πινελιά.

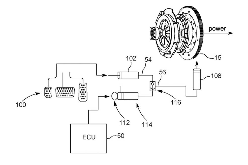
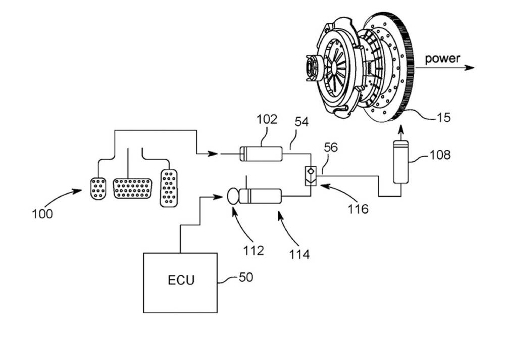
Η επόμενη Supra, ή ακόμα και η σημερινή με κάποιο νέο κινητήριο σύνολο, παρουσιάζεται στο σώμα της τέταρτης με ένα ιδιαίτερο σύστημα μετάδοσης, που συνδυάζει το κλασικό χειροκίνητο με τη δύναμη των ηλεκτροκινητήρων. Το νέο κιβώτιο απαρτίζεται από την κλασική διάταξη βολάν-δίσκων, αλλά προσθέτει άλλα δυο κυλινδράκια ενεργοποίησης. Ο ένας είναι ο κλασικός που συναντάμε σε κάθε χειροκίνητο, αλλά εδώ με διαφορετικό καθήκον. Αντί να μεταφέρει την πίεση από το πεντάλ στο συμπλέκτη, λειτουργεί ως βαλβίδα παροχής που τροφοδοτεί τους άλλους δυο κυλίνδρους.
Όταν το αυτοκίνητο κινείται με το θερμικό μοτέρ, ο κύριος κύλινδρος περνάει την πίεση στον αντίστοιχο που συνδέεται με το πεντάλ. Κατ’ αυτό τον τρόπο ο οδηγός αλλάζει σχέσεις κανονικά, όπως έχουμε συνηθίσει στα παραδοσιακά μηχανικά συστήματα μετάδοσης. Όταν, όμως, το αυτοκίνητο πρέπει να κινηθεί με το ηλεκτρικό μοτέρ η πίεση περνάει στο δεύτερο κυλινδράκι, το οποίο με τη σειρά του μεταβιβάζει δεδομένα στην ECU. Η κεντρική μονάδα απομονώνει έτσι τη μετάδοση, αφήνοντας την κίνηση του οχήματος στον ηλεκτροκινητήρα. Όταν είναι να μπει στο παιχνίδι ο κινητήρας εσωτερικής καύσης, η ECU δίνει τη σχετική εντολή και η εκτέλεση των ενεργειών επιστρέφει στο άλλο κυλινδράκι, ενεργοποιώντας εκ νέου το κιβώτιο.

Η λειτουργία θυμίζει τεχνοτροπία «clutch-by-wire», αλλά εδώ ακριβώς εστιάζει η Toyota και διαφοροποιείται σε σχέση με αυτή την τεχνοτροπία. Η δική τους είναι επί της ουσίας μια κλασική μηχανική διάταξη, η οποία έχει τη δυνατότητα να απομονώνεται και να επανενεργοποιείται κατά βούληση, βελτιώνοντας την απόκριση και ελαχιστοποιώντας την αίσθηση μετάβασης μεταξύ θερμικής και ηλεκτρικής λειτουργίας.
Πέρα από τα υβριδική, η Toyota εξελίσσει χειροκίνητο κιβώτιο και για τα ηλεκτρικά της. Σε συνδυασμό με την επένδυση στην τεχνολογία υδρογόνου, μέσω των Corolla και GR Yaris H2, οι Ιάπωνες τονίζουν πως οι εναλλακτικοί τρόποι κίνησης μπορούν να είναι fun to drive.

































