Η Honda έχει προικίσει την 11η γενιά Civic με πολυάριθμες τεχνολογικές εφαρμογές, τόσο σε επίπεδο ηλεκτρονικών συστημάτων όσο και κινητηρίων συνόλων. Κι από ό,τι φαίνεται, επιφυλάσσει ακόμα εκπλήξεις για το μικρομεσαίο της – επιπέδου Formula 1, μάλιστα!
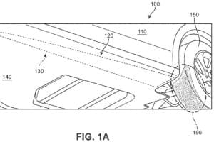
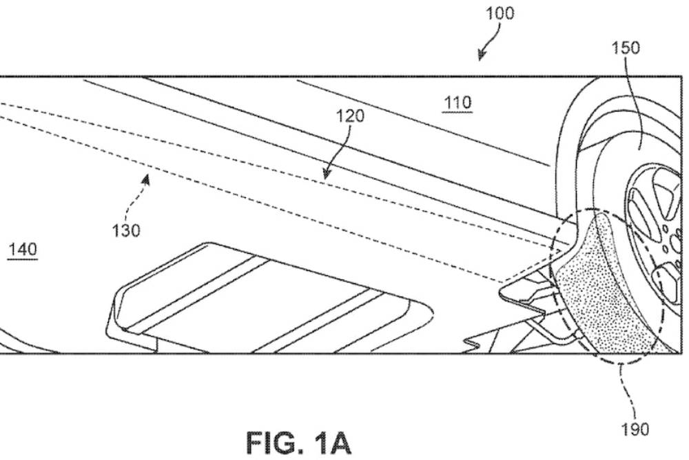
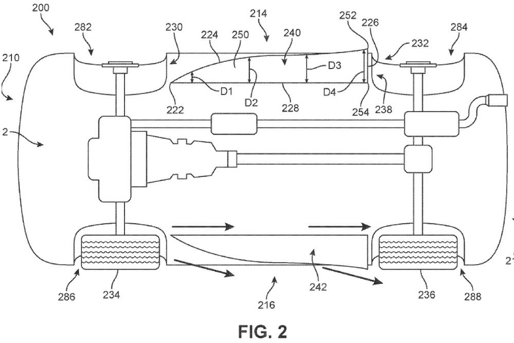
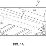
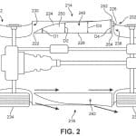
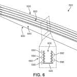
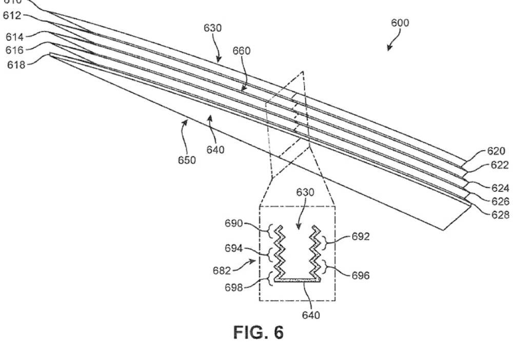
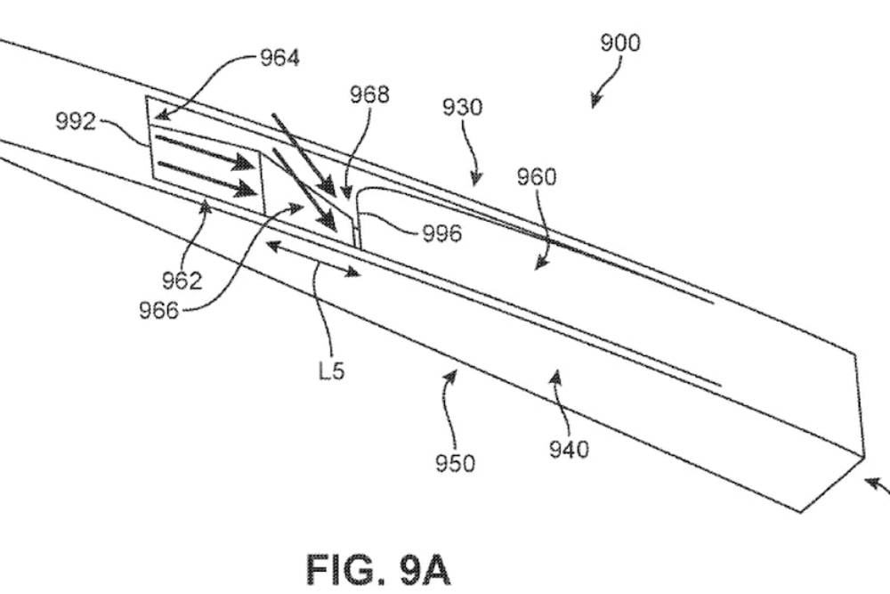
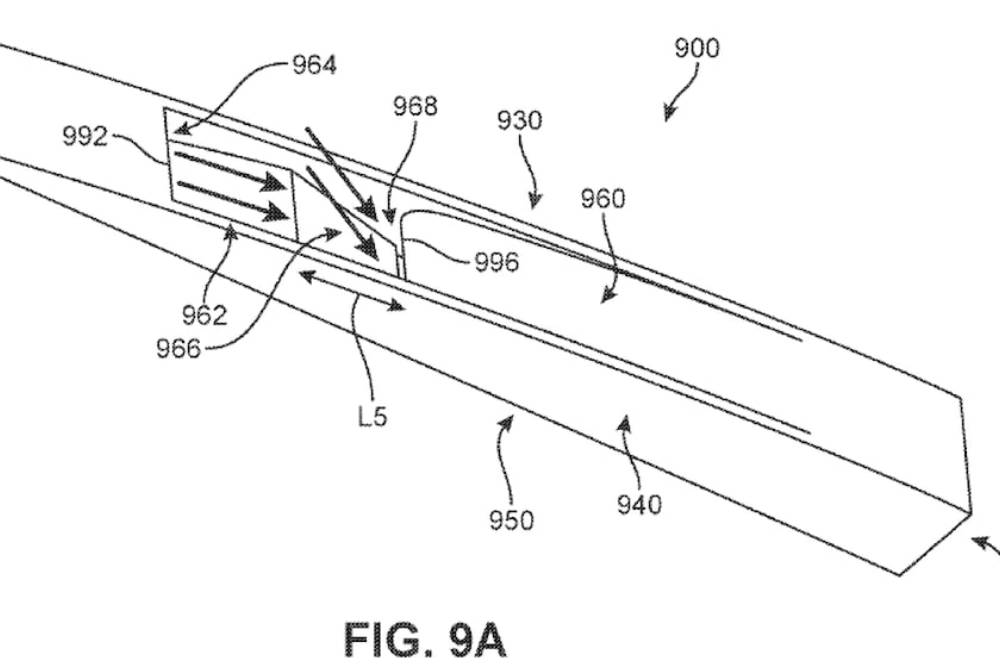
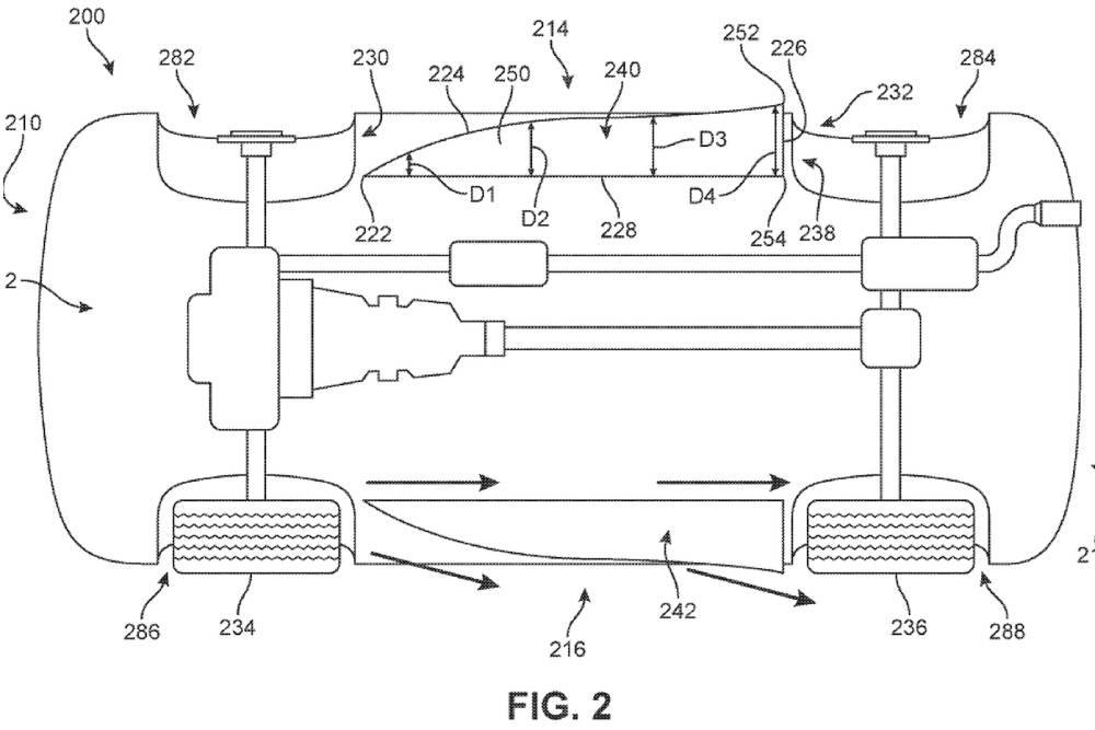
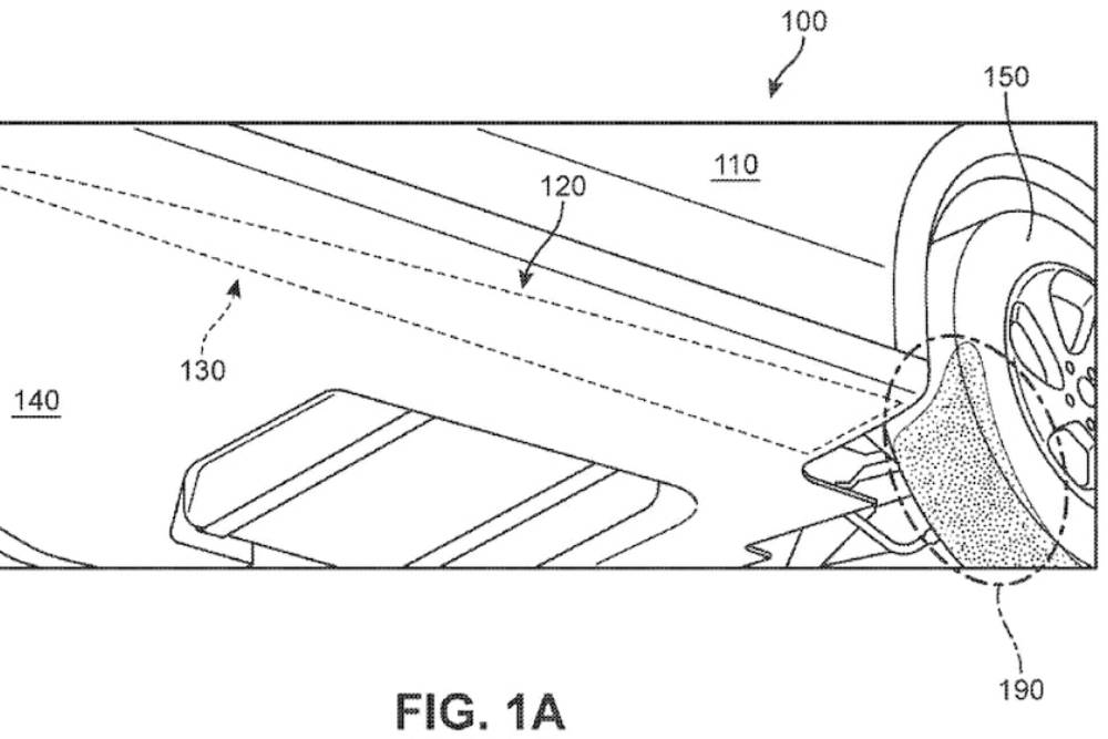
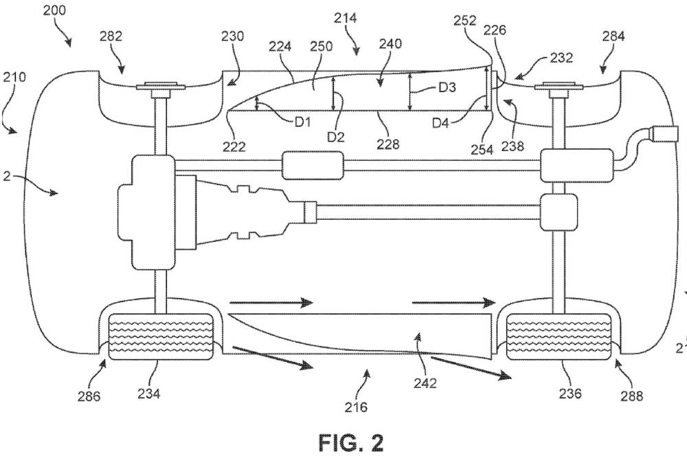
Οι Ιάπωνες πρόσφατα πατεντάρισαν ένα είδος πτυσσόμενων πλαϊνών ποδιών για το Civic, με απώτερο σκοπό την αξιοποίηση του ground effect: μιας τεχνοτροπίας που επανήλθε μόλις φέτος στην κορωνίδα του motorsport, έπειτα από 40 χρόνια απαγόρευσης. Το σύστημα της Honda ελέγχει ηλεκτρομηχανικά τα side skirts, ενεργοποιώντας τα κατά βούληση και αλλάζοντας μέχρι τη γωνία τους, αντλώντας δεδομένα από ποικίλους αισθητήρες (ροής αέρα, ταχύτητας κλπ). Σκοπός; Η περαιτέρω βελτίωση της αεροδυναμικής απόδοσης του αυτοκινήτου, μειώνοντας τους αντίστοιχους θορύβους και την κατανάλωση, με παράλληλη αύξηση της σταθερότητας μέσω της κάθετης δύναμης.
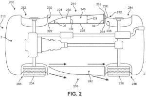
Οι ποδιές αναλαμβάνουν να βάλουν σε τάξη τη χαοτική ροή του αέρα κάτω από το πάτωμα, που διαταράσσεται από την ακανόνιστη χωροταξία των εκτεθειμένων μηχανικών μερών (σωλήνες και καζανάκια εξάτμισης, βραχιόνες ανάρτησης κλπ). Στα αγωνιστικά αυτοκίνητα δεν υπάρχει πρόβλημα να είναι μονίμως στη θέση τους, όμως σε ένα Civic παραγωγής θα δημιουργούσαν πρακτικά ζητήματα (σαμαράκια και λακκούβες τα βασικότερα), χώρια που θα ήταν κι αντιαισθητικά.
Τα σκίτσα που κατοχυρώθηκαν στο Αμερικανικό Γραφείο Ευρεσιτεχνιών απεικονίζουν το απλό Civic, αλλά υπάρχει σοβαρό ενδεχόμενο να τοποθετηθούν και στο Type R ή σε τυχόν πιο σκληροπυρηνική εκδοχή του (Limited Edition φερ’ ειπείν) μελλοντικά.






































