Τη λύση στις μετατροπές αριστεροτίμονων και δεξιοτίμονων θέλει να δώσει η Ferrari, προσφέροντας παράλληλα τη δυνατότητα για την εύρεση της απόλυτης θέσης οδήγησης. Πώς σκοπεύουν να τα καταφέρουν οι Ιταλοί; Μέσα από μια απίστευτη τεχνολογία, που περιλαμβάνει συρόμενο cockpit!
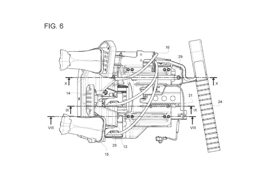
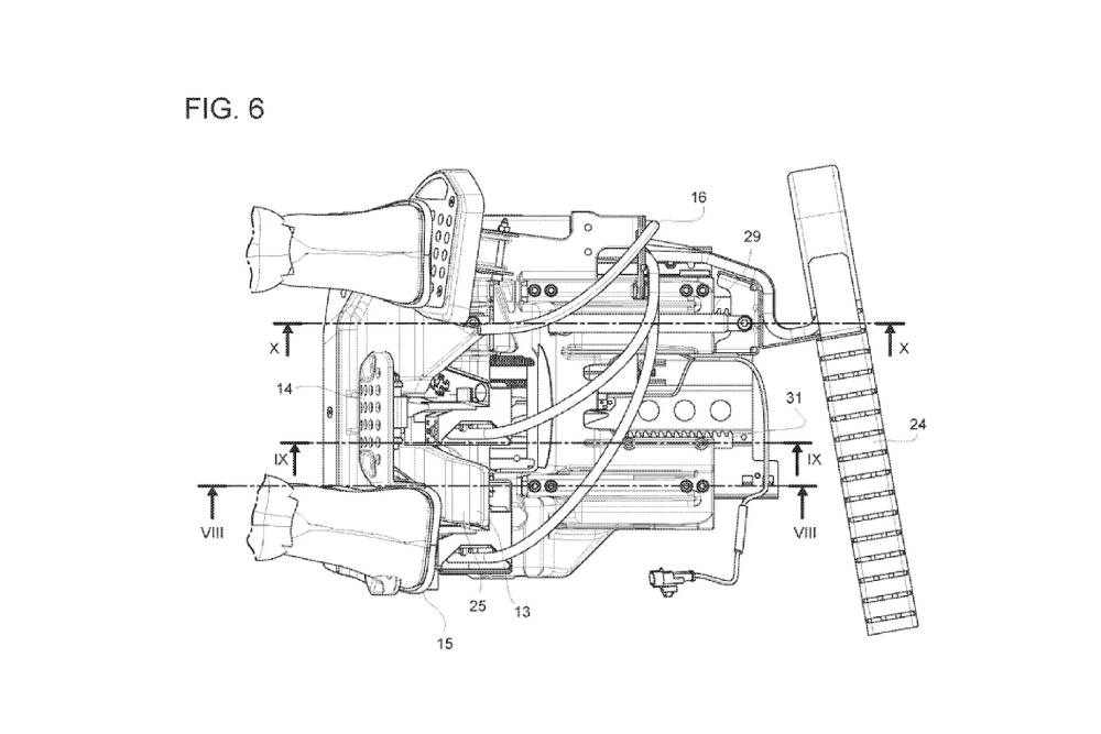
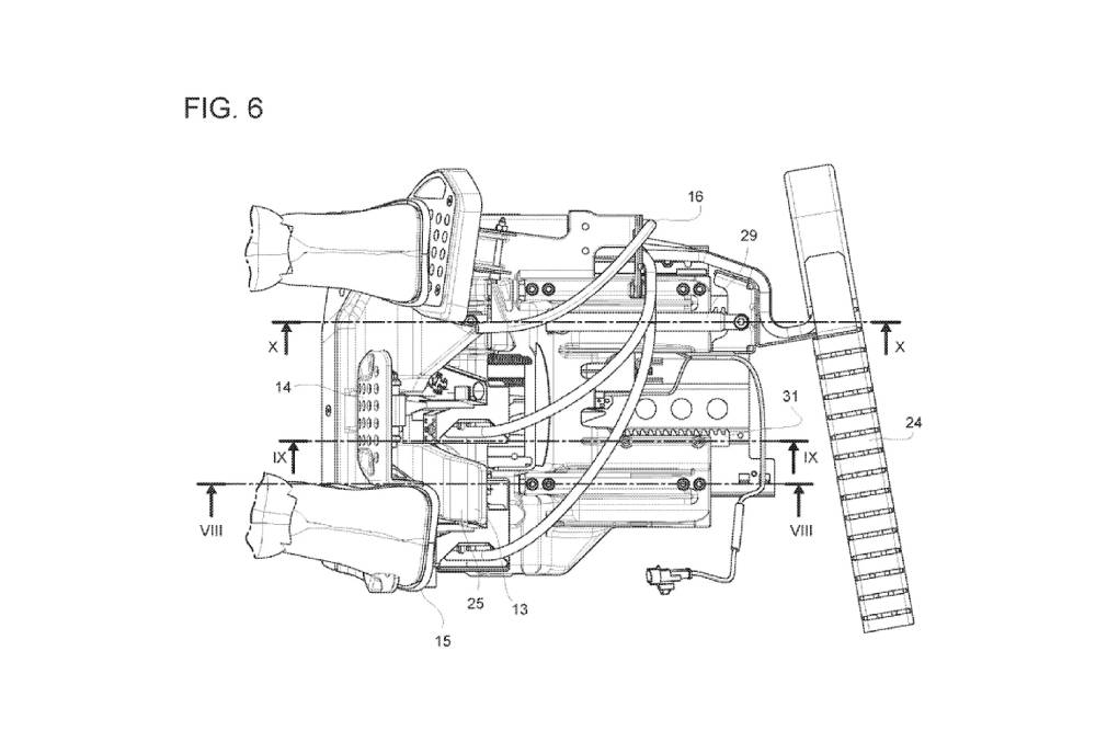
Η πατέντα κατατέθηκε στο Αμερικανικό Γραφείο Ευρεσιτεχνιών, από όπου και «αλιεύθηκε», ετοιμάζοντας το έδαφος για την πιο καινοτόμο εφαρμογή στο θέμα της θέσης οδήγησης, από όταν το τιμόνι απέκτησε ρύθμιση σε ύψος και βάθος. Η πατέντα του Μαρανέλο αφορά στη συγχώνευση του καθίσματος οδηγού, του τιμονιού, του πίνακα οργάνων και των πεντάλ σε μια ενιαία κατασκευή, σαν αυτές που βλέπουμε στους προσομοιωτές αγώνων. Η μονάδα αυτή εδράζεται πάνω σε μια συστοιχία από ράγες, οι οποίες επιτρέπουν τη μετακίνησή της εγκάρσια. Όπως δηλαδή κινείται το κάθισμα όταν ρυθμίζουμε την απόσταση από το τιμόνι, αλλά στα πλάγια. Με αυτό τον τρόπο επιτυγχάνονται δυο τινά.
Πρώτον, καθίσταται πανεύκολη η μετατροπή του αυτοκινήτου από αριστεροτίμονο σε δεξιοτίμονο και τούμπαλιν. Συνεπώς δεν χρειάζεται η χρονοβόρα και κοστοβόρα διαδικασία της μεταφοράς τόσων εξαρτημάτων δεξιά-αριστερά από αγορά σε αγορά, μειώνοντας δραματικά το κόστος παραγωγής. Με άλλα λόγια οι προδιαγραφές είναι κοινές για όλα τα αυτοκίνητα στο Μαρανέλο. Δεν χρειάζεται έξτρα εργασία στη μετατροπή των Ferrari που προορίζονται για τη Μεγάλη Βρετανία ή την Ιαπωνία, φερ’ ειπείν. Απλά σύρεις το cockpit από αριστερά προς τα δεξιά, και τέλος.

Δεύτερον, επιτυγχάνεται η εύρεση της τέλειας αγωνιστικής θέσης οδήγησης. Οι περισσότεροι οδηγοί αγώνων αναφέρουν πως η καλύτερη θέση για να επιβλέπεις τα πάντα καλύτερα, έχοντας τον πλήρη έλεγχο κάθε σπιθαμής του αυτοκινήτου μπροστά, είναι στο κέντρο. Κάτι ήξερε ο Gordon Murray που έδωσε αυτή τη διάταξη τόσο στη McLaren F1, όσο και στο GMA T.50. Προφανώς αυτό αφορά τις αγωνιστικές Ferrari, καθώς δεν προβλέπεται να μετακινείς το cockpit σε αυτοκίνητο δρόμου εν όψει track day, καθότι θα έπρεπε ταυτόχρονα να αφαιρείς κεντρική κονσόλα, κάθισμα συνοδηγού κλπ.
Όπως συμβαίνει με πολλές πατέντες που κατοχυρώνουν οι κατασκευαστές, δεν εγγυάται κανείς ότι η συγκεκριμένη θα βρει το δρόμο προς την παραγωγή. Σίγουρα, πάντως, αν τα καταφέρει θα λύσει τα χέρια πολλών μηχανικών στη γραμμή συναρμολόγησης.



















































