Στα πλαίσια των εορτασμών για την κατάκτηση της νίκης στον 24ωρο αγώνα του Le Mans, η Toyota είχε παρουσιάσει το GR Super Sport Concept πριν 2 χρόνια. Πρακτικά ήταν η έκδοση δρόμου του TS050, που πήρε την καρό σημαία στη γαλλική πίστα, και προετοίμασε το έδαφος για το πρώτο ιαπωνικό hypercar στην Ιστορία.
Διαβάστε επίσης: Η Toyota «χαρίζει» το νέο Corolla

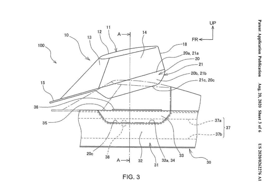
Μέχρι σήμερα, οι Ιάπωνες τηρούν σιγή ιχθύος για το θέμα. Μια διαρροή από το γραφείο Κατοχύρωσης Ευρεσιτεχνιών στις Η.Π.Α. όμως, έρχεται ουσιαστικά να επισημοποιήσει τον ερχομό του! Τα σχέδια που διέρρευσαν φανερώνουν μια άκρως αεροδυναμική σιλουέτα, εμπνευσμένη ξεκάθαρα από τα αγωνιστικά των πρωταθλημάτων αντοχής, όπου δεσπόζει η ανοιγόμενη καλύπτρα και το shark fin στο κάλυμμα του κινητήρα. Κατά πάσα πιθανότητα πρόκειται για την έκδοση παραγωγής του GR Super Sport, η οποία θα αποτελέσει την βάση για το αγωνιστικό της νέας κατηγορίας hypercars στο WEC (World Endurance Championship).
Δείτε ακόμα: Με το πλάι κι όπου πάει το Toyota GR Yaris (+video)

Σύμφωνα με τους Ιάπωνες, το GR Super Sport Concept δανείζεται πολλά από τα μηχανικά μέρη του αγωνιστικού πρωτοτύπου. Πρώτο και καλύτερο το κινητήριο σύνολο, το οποίο αποτελείται από έναν διπλά υπερτροφοδοτούμενο V6 2.4 λίτρων και 2 ηλεκτροκινητήρες. Η Toyota δεν ανακοίνωσε ακριβή στοιχεία, πέραν της συνολικής ιπποδύναμης, αλλά αν πάρουμε το TS050 Hybrid ως «μπούσουλα» η ισχύς αναμένεται να παρέχεται ισομερώς μεταξύ κινητήρα εσωτερικής καύσης και ηλεκτροκινητήρων. Συγκεκριμένα, από 493 ίππους έκαστο σύστημα.

Διαβάστε επίσης: Τουλάχιστον 1 εκ. ευρώ θα κοστίζει το hypercar της Toyota
Το πλαίσιο αποτελείται από μια ανθρακονημάτινη «μπανιέρα», με την στρεπτική ακαμψία να προσεγγίζει τα επίπεδα της κορυφαίας κατηγορίας LMP1 του Le Mans, ενώ και το αμάξωμα θα κατασκευαστεί από το ίδιο υλικό. Η ανάρτηση φέρει διπλά ψαλίδια γύρω-γύρω με τα αμορτισέρ σε διάταξη «push-rod» (οριζόντια, δηλαδή) για βέλτιστη διαχείριση των πλευρικών φορτίων που αναπτύσσονται στις στροφές. Ό,τι πρέπει για να ριχτεί στη μάχη με τις Mercedes-AMG Project ONE και Aston Martin Valkyrie, δηλαδή.






























