- Η Mazda ετοιμάζει νέο κινητήρα με τρία τούρμπο
- Η Mazda ετοιμάζει νέο κινητήρα με τρία τούρμπο
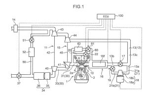
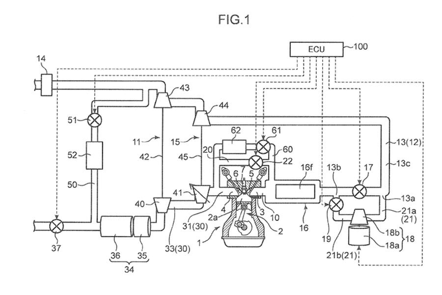
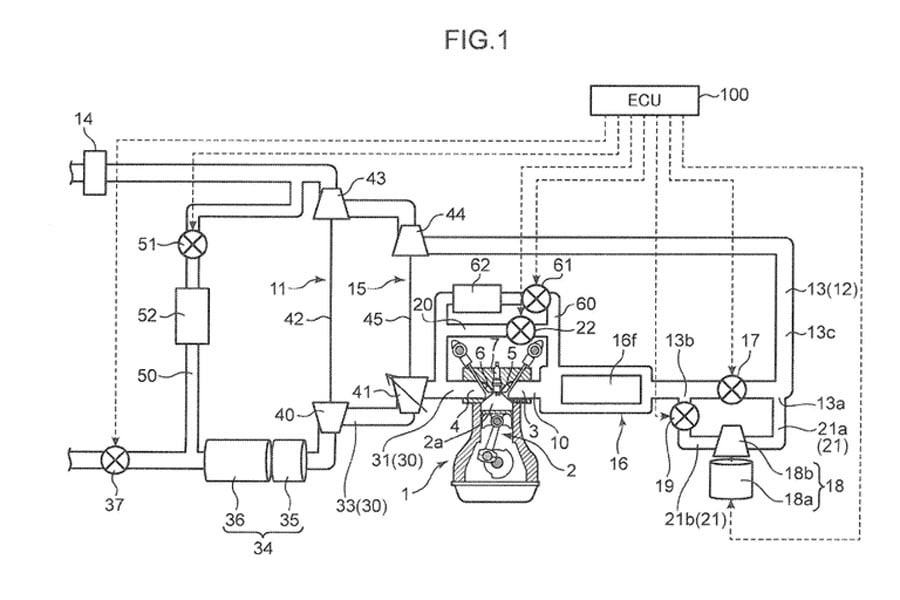
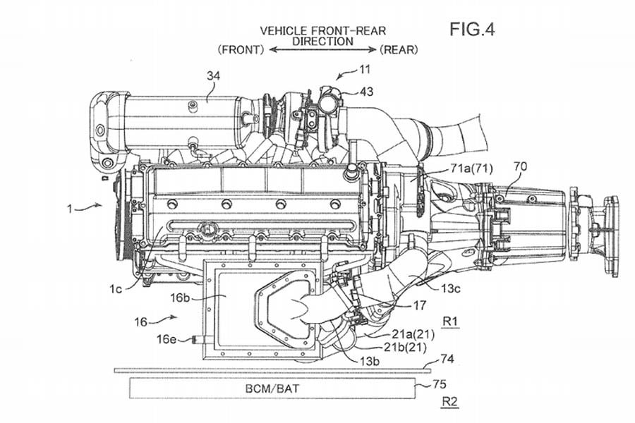
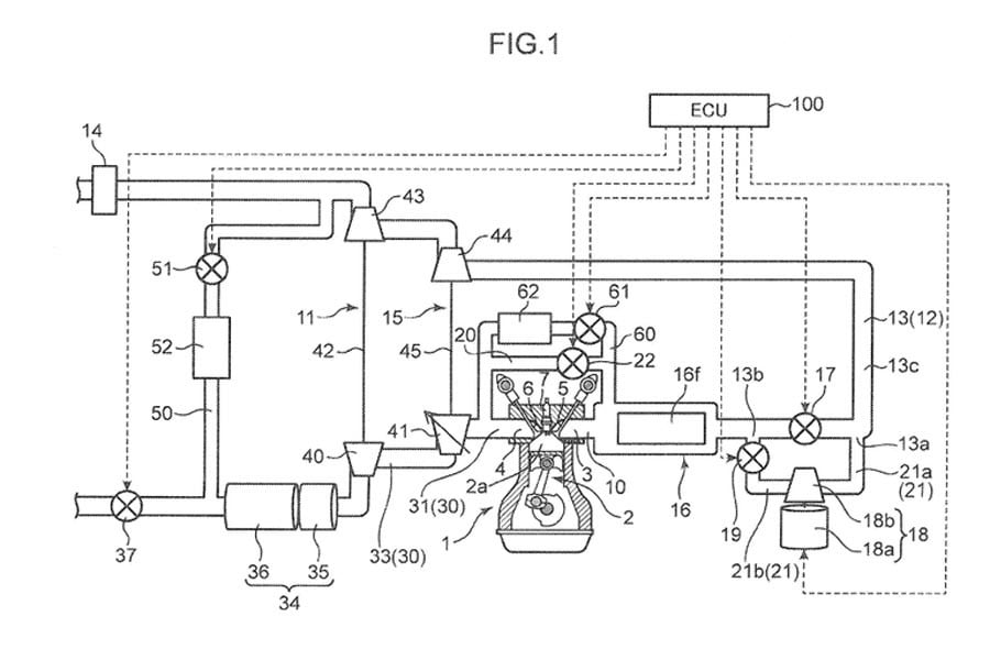
Πριν λίγο διάστημα η Mazda ανακοίνωσε ότι θα παρουσιάσει μια νέα γενιά μοτέρ βενζίνης SkyActiv-X, η οποία θα φέρει καινοτόμα τεχνολογία καύσης χωρίς μπουζί, με στόχο τη μείωση της κατανάλωσης και των ρύπων. Και πλέον, η ιαπωνική φίρμα φέρεται να ετοιμάζει και έναν ακόμη καινοτόμο κινητήρα, με τριπλή υπερτροφότηση δύο κλασσικών τούρμπο και ενός ηλεκτρικού κομπρέσσορα.
Διαβάστε ακόμα: Στην Έκθεση του Τόκιο τα Mazda RX-9, Nissan 390Z και η νέα Toyota Supra
Σύμφωνα λοιπόν με την αμερικάνικη ιστοσελίδα Road and Track, η Mazda κατέθεσε αίτηση κατοχύρωσης της εν λόγω πατέντας στην Επιτροπή Πιστοποίησης των Η.Π.Α., με τα σχετικά σχέδια να μας δείχνουν ότι ο νέος αυτός κινητήρας μπορεί να τοποθετηθεί στα πισωκίνητα μοντέλα της εταιρείας (π.χ. MX-5, επόμενο RX).
Η λειτουργία του ορίζει ότι ο ηλεκτιρκός κομπρέσσορας θα εμπλέκεται στις πολύ χαμηλές στροφές του κινητήρα, ώστε να βοηθήσει στην απόκριση του μοτέρ, ενώ στις μεσαίες και υψηλότερες στροφές λειτουργίας του θα αναλαμβάνουν τα δύο τούρμπο.
Διαβάστε ακόμα: Toyota και Mazda διευρύνουν τη συνεργασία τους
Προς το παρόν δεν υπάρχει πληροφόρηση για το πόσα άλογα θα βγάζει το μοτέρ αυτό ή κάποια άλλα στοιχεία του, ωστόσο στο παρελθόν η Volvo έχει παρουσιάσει τρι-τούρμπινο 2λιτρο μοτέρ βενζίνης με 450 άλογα. Πάντως το μοτέρ της Mazda δεν αναμένεται να φθάσει σε αυτό το νούμερο ισχύος.


























