Σας έχει τύχει να παρκάρετε κάτω από δέντρο, σε χαμηλοτάβανο γκαράζ/πυλωτή ή πολύ κοντά σε τοίχο και να μην μπορείτε να ανοίξετε την πόρτα του πορτμπαγκάζ; Από ό,τι φαίνεται, η συγκεκριμένη ταλαιπωρία έχει απασχολήσει τους σχεδιαστές και τεχνικούς της Hyundai, οι οποίοι αποφάσισαν να εξελίξουν ένα ριζοσπαστικό σύστημα που καταργεί τις παραδοσιακές θύρες χώρου αποσκευών στα χάτσμπακ!
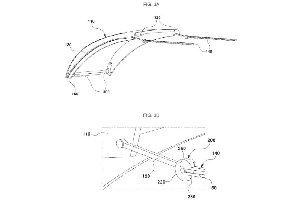
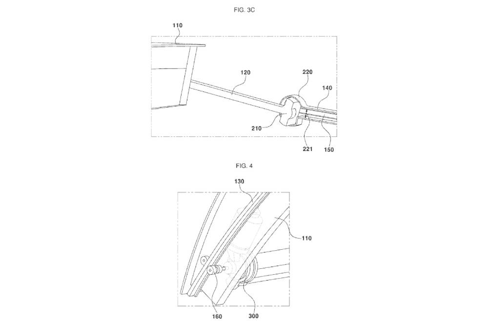
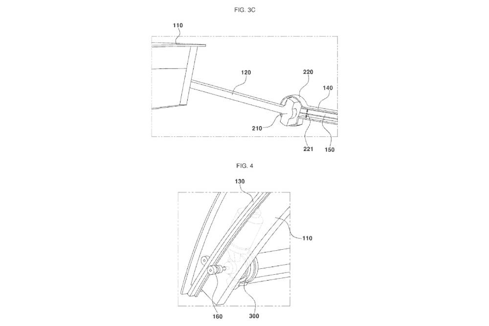
Όπως αποκαλύπτουν τα σχέδια που κατέθεσαν στο Αμερικανικό Γραφείο Ευρεσιτεχνιών, οι Κορεάτες ετοιμάζουν ένα είδος συρόμενου πίσω μέρους στη θέση της παραδοσιακής πόρτας, που ανοίγει προς τα πάνω (ή προς το πλάι, σε παλιότερα SUVs). Ράγες δεξιά-αριστερά, μοτεράκια ανύψωσης και αμορτισέρ αερίου αναλαμβάνουν να μιμηθούν τη λειτουργία των συρόμενων θυρών, που γνωρίζουμε από MPVs και vans, αλλά προς τα πάνω! Κατ’ αυτό τον τρόπο ελαχιστοποιείται ο χώρος που απαιτείται καθ’ ύψος ή προς τα πίσω, εξαλείφοντας την πιθανότητα δυσάρεστων εκπλήξεων από τα προαναφερθέντα σενάρια.
Ο τρόπος ανύψωσης της πόρτας θυμίζει παραλλαγή του μηχανισμού αναδίπλωσης σε ορισμένα κάμπριο μοντέλα, με μεταλλική οροφή. Βέβαια δεν αποκλείονται μονομιάς όλα τα προβλήματα. Και εδώ απαιτείται ύψος για το εύρυθμο άνοιξε-κλείσε, οπότε το ενδεχόμενο «γκέλας» σε κλειστά γκαράζ, ας πούμε, εξακολουθεί να συνθέτει βάσιμο προβληματισμό. Επίσης, για τη σωστή εφαρμογή και λειτουργία του μηχανισμού, προαπαιτείται δεδομένη κλίση στη γραμμή της οροφής και την τρίτη κολώνα. Στα Ioniq 5 και Tucson, για παράδειγμα, δεν θα υπάρχει πρόβλημα. Στο Palisade, όμως, που έχει σχεδόν κάθετο πίσω μέρος, δύσκολα θα μπορούσε να τοποθετηθεί ο συγκεκριμένος μηχανισμός.










































