Η Ford έχει «ρέντα» τον τελευταίο καιρό στις νέες τεχνολογίες. Μετά την ανάλυση για την δομική αντοχή του νέου Focus και τα προερχόμενα από τρισδιάστατη εκτύπωση φρένα για την Shelby GT500, έρχονται και θερμαινόμενες ζώνες ασφαλείας για τις κρύες μέρες του χειμώνα!
Δείτε ακόμα: Νέο Ford Fiesta R2 με 200 ίππους από 1.000 κυβικά! (+video)
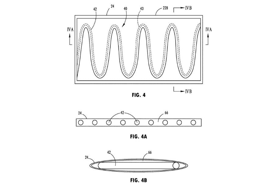
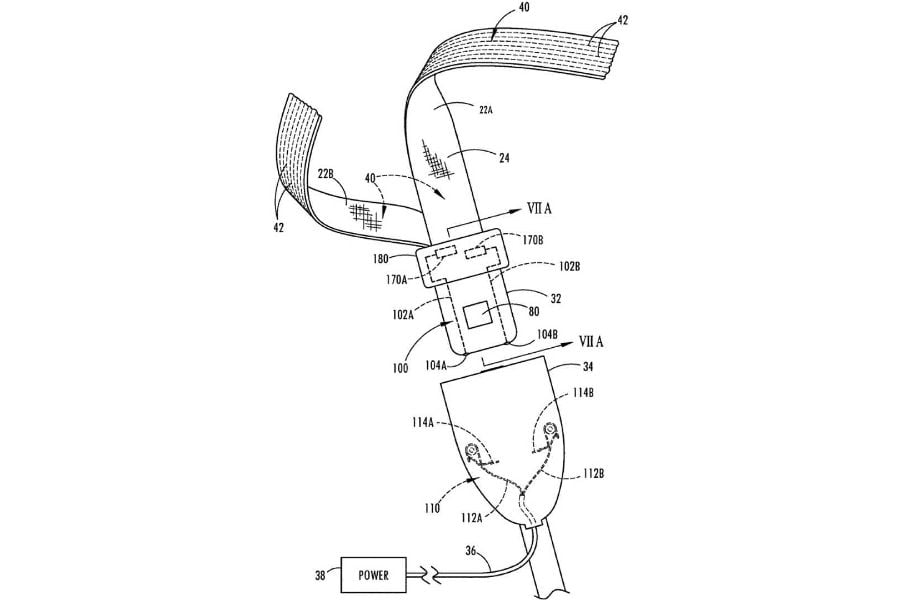
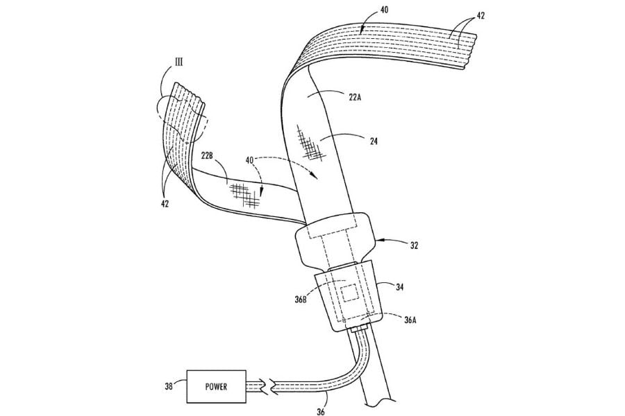
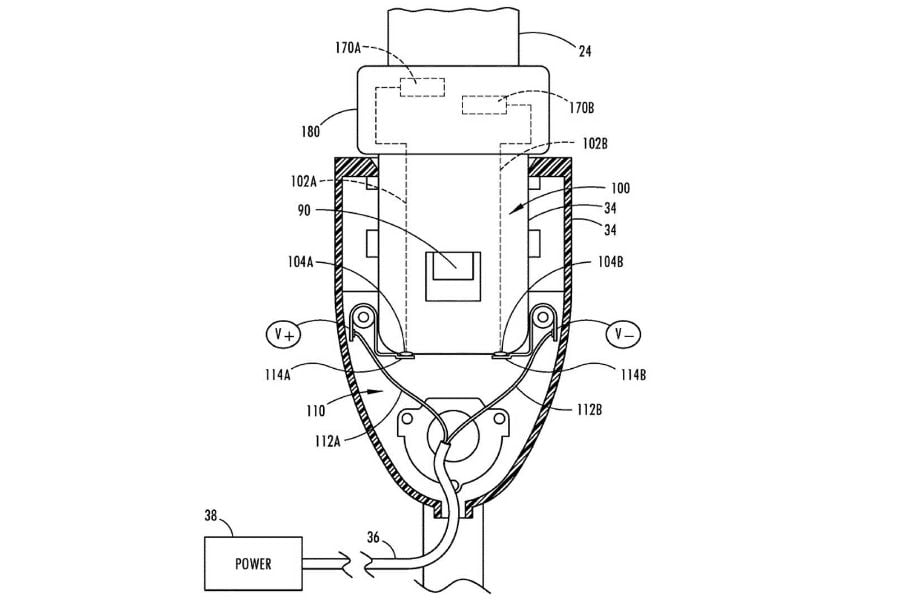
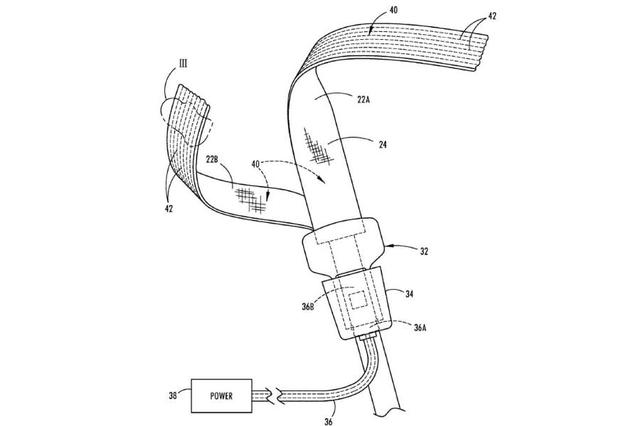
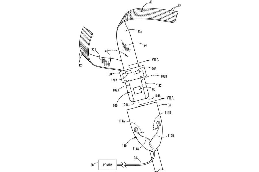
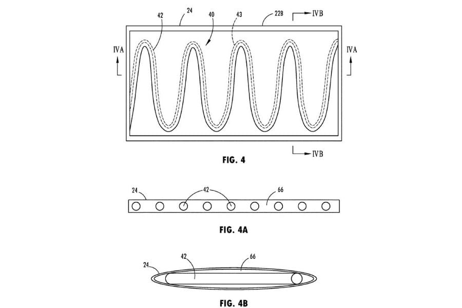
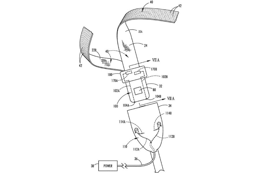
Η αμερικανική εταιρία κατέθεσε αίτηση για κατοχύρωση ευρεσιτεχνίας σχετικά με την αντίστοιχη τεχνολογία, η οποία φτάνει τις 31 σελίδες. Αν έχετε όρεξη, μπορείτε να την διαβάσετε όλη εδώ. Συνοπτικά, η μεθοδολογία είναι απλή: ηλεκτρικές αντιστάσεις ενσωματώνονται μέσα στη λωρίδα της ζώνης. Ο οδηγός μπορεί να τις ενεργοποιήσει είτε μέσω του αντίστοιχου κουμπιού, είτε να επιλέξει την αυτόματη ρύθμιση που τις θέτει σε λειτουργία με το που κουμπώσουν.
Διαβάστε επίσης: Η τιμή της Ford Mustang Bullitt στην Ελλάδα
Σύμφωνα με εκπρόσωπο της Ford, οι θερμαινόμενες ζώνες σκοπεύουν στην ολοκλήρωση της θερμαντικής ασπίδας για οδηγό και συνοδηγό, πλαισιώνοντας το θερμαινόμενο τιμόνι και τα ανάλογα καθίσματα. Ιδιαίτερα στις βόρειες χώρες, η τεχνολογία αυτή θα βοηθά στην αποτελεσματικότερη θέρμανση του θώρακα καθότι ο οδηγός δεν θα χρειάζεται να περιμένει τον κινητήρα να ζεσταθεί, ώστε να βγάλει τον ανάλογο αέρα το καλοριφέρ.
Προς το παρόν δεν έχει ανακοινωθεί σε ποιο μοντέλο θα κάνουν πρεμιέρα, ωστόσο μπορούμε να υποθέσουμε με ασφάλεια πως κάποιο από τα μοντέλα που κάνουν θραύση στον Καναδά και τις κρύες πολιτείες των Η.Π.Α. Κατά πάσα πιθανότητα το νέο Explorer θα είναι το πρώτο που θα εφοδιαστεί με το συγκεκριμένο εξοπλιστικό στοιχείο, ενώ το F-150 αναμένεται να ακολουθήσει.

































