- Η Mazda ετοιμάζει κινούμενη αεροτομή
Τα ενεργά αεροδυναμικά βοηθήματα τα είδαμε πρώτα στην Formula 1, ενώ λίγο αργότερα έκαναν δειλά δειλά την εμφάνισή τους και στα υπεραυτοκίνητα. Πλέον αρκετοί κατασκευαστές τα έχουν κάνει πράξει στα αυτοκίνητά τους και τον δρόμο αυτό ακολουθεί και η Mazda.
Δείτε ακόμη: Η Mazda δεν τα παρατάει με τον Wankel
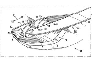
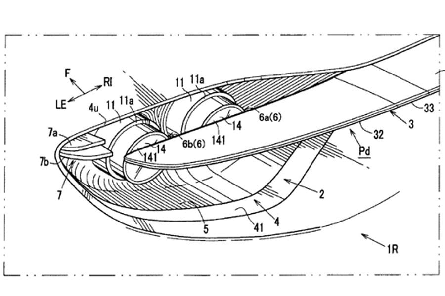
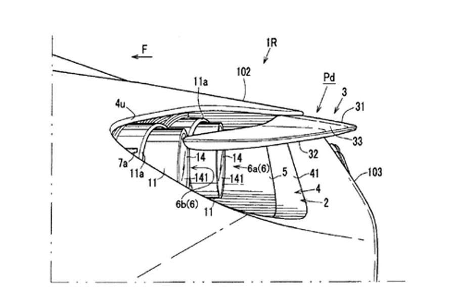
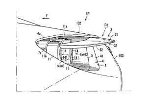
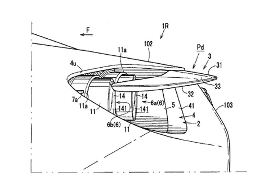
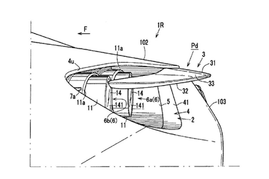
Αυτό τουλάχιστον δείχνουν τα τελευταία σκίτσα, τα οποία είδαν το φως της δημοσιότητας και αποκαλύπτουν πατέντα της ιαπωνικής μάρκας, η οποία αφορά στην πίσω αεροτομή που όπως φαίνεται θα είναι κινούμενη και θα κρύβεται στα πίσω φωτιστικά σώματα (κάτι σαν την πτυσσόμενη αεροτομή που χρόνια τώρα χρησιμοποιεί η Porsche σε διάφορα μοντέλα της).
Όπως φαίνεται στα σχέδια που κατατέθηκαν από την Mazda στο αμερικάνικο γραφείο ευρεσιτεχνιών, η αεροτομή εισέρχεται σε ειδική θέση όταν δεν έχει λόγο ύπαρξης και αποτελεί μέρος του υπόλοιπου αμαξώματος.
Διαβάστε επίσης: Καινοτόμος κινητήρας βενζίνης χωρίς μπουζί από τη Mazda
Το αν θα δούμε ποτέ την συγκεκριμένη αεροτομή να οδηγείται στην παραγωγή παραμένει άγνωστο. Παρόλα αυτά αν ποτέ γίνει κάτι τέτοιο θα θέλαμε πολύ να βρει την θέση της στο πίσω μέρος του μελλοντικού RX9, για το οποίο μπορείτε να διαβάσετε εδώ.























