- Απίστευτη καινοτομία Honda με τζάμια αφής
Οι Ιάπωνες της Honda συχνά πυκνά μας εκπλήσσουν με τις καινοτομίες τους και τις πατέντες ευρεσιτεχνίας που καταθέτουν κατά καιρούς. Αυτή τη φορά θα μας απασχολήσει με τα «μαγικά τζάμια», όπως λέμε μαγικά καθίσματα στο Honda Jazz.
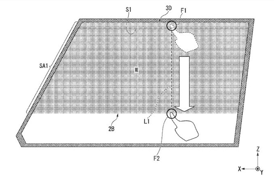
Τι είναι όμως αυτά τα μαγικά τζάμια; Σύμφωνα με την αίτηση κατοχύρωσης ευρεσιτεχνίας που κατέθεσε η Honda είναι ένα νέο, καινοτόμο σύστημα που θα δίνει τη δυνατότητα στους επιβάτες του αυτοκινήτου να σκουρύνουν τις γυάλινες επιφάνειες απλώς αγγίζοντάς τις.
Στην πράξη θα κάνουμε ότι ακριβώς κάνουμε με το δάχτυλό μας σε ένα tablet. Θα αγγίζουμε το τζάμι και με κατακόρυφη κίνηση από πάνω προς τα κάτω αυτό θα σκουραίνει, ενώ με αντίθετη φορά θα επανέρχεται στη φυσική του θέση. Το ακόμη καλύτερο είναι πως τα παράθυρα θα μπορούν να μένουν σκούρα ακόμη και όταν το αυτοκίνητο δεν είναι σε λειτουργία. Θα είναι σαν να έχουμε φιμέ, με ένα μόνο άγγιγμα!
Λέτε λοιπόν να ζήσουμε τον θάνατο των σκιάδιων και των φιμέ;























