H Porsche δεν σταματά να εξερευνά τα όρια της τεχνολογίας, στην αναζήτηση του βέλτιστου κάθε φορά αποτελέσματος για τα αυτοκίνητά της. Σε αυτό το πλαίσιο εντάσσεται η εξέλιξη μιας καινοτόμου εξάτμισης, που θα μπορεί να λειτουργεί ταυτόχρονα ως διαχύτης!
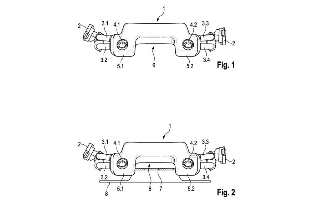
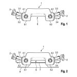
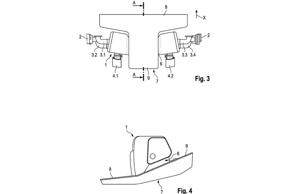
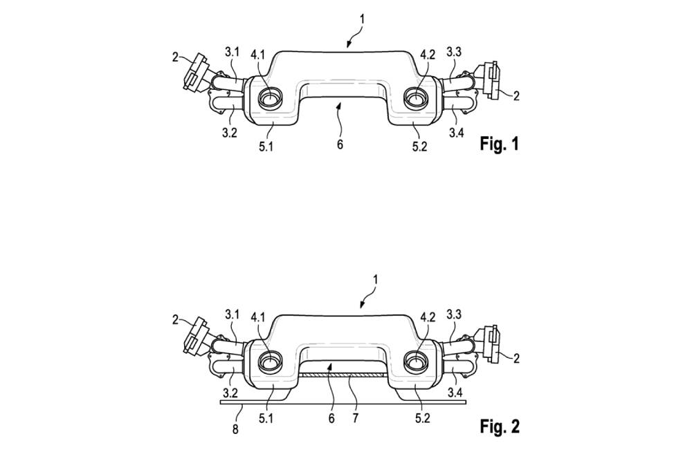
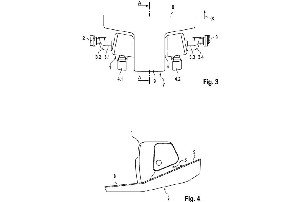
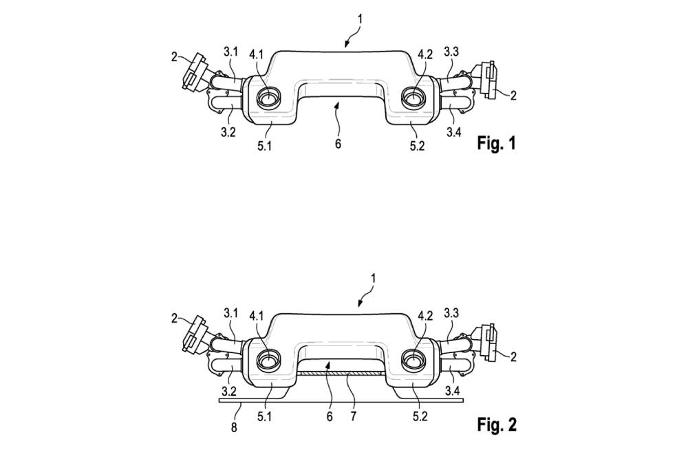
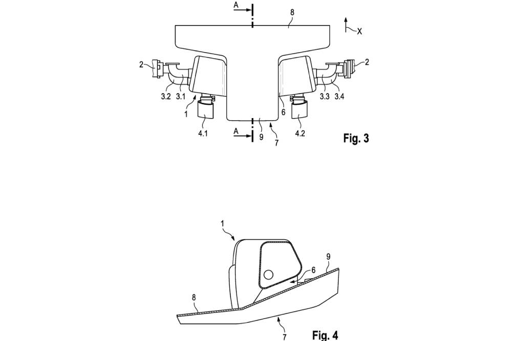
Οι Γερμανοί κατοχύρωσαν την ανάλογη πατέντα στο ομώνυμο Γραφείο Ευρεσιτεχνιών, περιγράφοντας ένα σύστημα εξαγωγής με αεροδυναμικά χαρακτηριστικά και στοιχεία. Όπως αναφέρει μέρος της περιγραφής, το κύριο κομμάτι απαρτίζεται από ένα είδος σιλανσιέ το κάτω μέρος του οποίου φέρει αεροδυναμικό σχήμα, ενώ μπορεί να εξοπλιστεί με πτερύγια και μορφοποιητές αέρα. Σύμφωνα με τα σχέδια, το Τσουφενχάουζεν εξελίσσει ένα σύστημα που διατηρεί ομαλή τη ροή του αέρα γύρω του, σε αντίθεση με τις σωληνώσεις και την τοποθέτηση των διαφόρων εξαρτημάτων στις κλασικές εξατμίσεις.

Το σύστημα εξαγωγής παίζει σημαντικό ρόλο στην αεροδυναμική απόδοση ενός αυτοκινήτου, καθώς μπορεί να χαλάσει σε μεγάλο βαθμό τη ροή του αέρα και να κάνει ακόμα δυσκολότερο το έργο των αεροδυναμιστών, κατά τη σχεδίαση του διαχύτη. Η πατέντα της Porsche θέλει επί της ουσίας να ταυτίσει την εξάτμιση με αυτόν (το διαχύτη, δηλαδή), δημιουργώντας ένα στυλ «καθρέπτη» μπροστά από το αεροδυναμικό στοιχείο. Κατ’ αυτό τον τρόπο οι ριπές του αέρα δεν υπόκεινται σε δραματικές μεταβολές ροής και πίεσης, συνδράμοντας έτσι τόσο στη μείωση της αντίστασης όσο και την αύξηση της κάθετης δύναμης. Με άλλα λόγια ο διαχύτης δεν χρειάζεται να διορθώνει την πορεία του αέρα όπως έρχεται άτακτα από τους σωλήνες, καζανάκια κλπ., αλλά να τη συνεχίζει και να την τελειοποιεί.
Πέρα από το σχήμα αυτό καθαυτό, η υπό εξέλιξη τεχνολογία περιλαμβάνει και ενεργά βοηθήματα. Πτερύγια που ενεργοποιούνται είτε μηχανικά είτε ηλεκτρονικά, ρυθμίζοντας την αλληλεπίδραση με τις επιταγές του κάτωθεν διερχόμενου ανέμου κατά το δοκούν. Ιδανικά, η νέα αυτή εξάτμιση θα λειτουργεί στο μέγιστο όταν υπάρχει και επίπεδο πάτωμα. Πολύ πιθανό να τη δούμε στην παραγωγή μαζί με την επερχόμενη νέα 911 GT2 RS, η οποία θα διαθέτει πληθώρα αεροδυναμικών (ενεργών και μη) αξεσουάρ.



























