Οι πολέμιοι των ηλεκτρικών έχουν 3 υπερ-όπλα στη μπαρουταποθήκη τους: την αυτονομία, τη φόρτιση (με όλα τα παρελκόμενά της) και τον ήχο. Σε πρακτικό και χειροπιαστή κλίμακα, μόνο τα δύο απασχολούν τους καταναλωτές. Από τη στιγμή, όμως, που κατασκευαστές σαν την Porsche και τη Ferrari μπαίνουν στο χορό των EVs, η έλλειψη ήχου μπαίνει για τα καλά στο κάδρο των επικρίσεων.
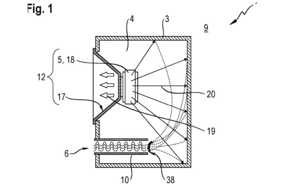
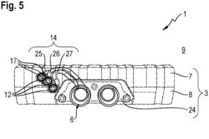
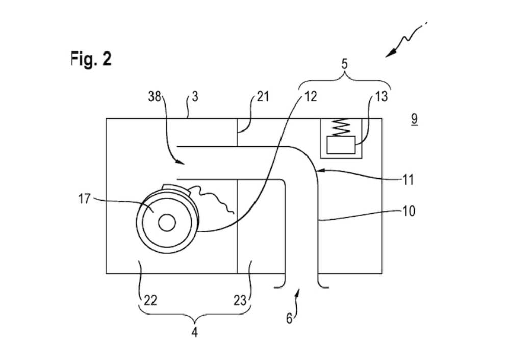
Οι Γερμανοί αποφάσισαν να πάρουν θέση, ετοιμάζοντας σύστημα εξάτμισης για τα ηλεκτρικά τους μοντέλα! Όπως φανερώνουν σχέδια που διέρρευσαν από το αρμόδιο γραφείο ευρεσιτεχνιών, η Porsche εξελίσσει μια ειδική παραλλαγή του συστήματος παραγωγής ήχων (που είναι υποχρεωτικό σε όλα τα EV) ώστε να προσομοιώνει, όσο το δυνατό περισσότερο, συχνότητες και χροιά από τα θερμικά της μοτέρ. Οι ίδιοι, εξάλλου, έχουν δηλώσει παλιότερα πως ο ήχος των ηλεκτροκινητήρων είναι «άψυχος» και επιπλέον υπερκαλύπτεται από το θόρυβο κύλισης των ελαστικών. Η νέα τεχνολογία της Porsche έρχεται να δώσει τη λύση, σε αμφότερα τα ζητήματα.
Το πρώτο μοντέλο που θα το απολαύσει θα είναι η Taycan, με την ηλεκτρική εκδοχή της Macan να ακολουθεί και τις επόμενες Boxster/Cayman (που θα διατίθενται αποκλειστικά σε EV μορφή) να έπονται. Οι ηλεκτρικές εξατμίσεις από το Τσουφενχάουζεν θυμίζουν κανονικό τελικό, με τις απολήξεις να είναι στην ουσία ηχεία. Προς το παρόν δεν υπάρχουν λεπτομέρειες, οπότε δεν γνωρίζουμε ποιους κινητήρες θα προσπαθήσουν να μιμηθούν ηχητικά οι ηλεκτρικές «μπούκες». Κατά πάσα πιθανότητα θα μιλάμε για μίξη του 3.0λτ. εξακύλινδρου τούρμπο boxer της 911 με τον 2.9 V6 twinturbo της Macan. Για να ακούσουμε, τί θα ακούσουμε…













































