Εδώ και πολλά χρόνια, η φήμη για επιστροφή/διαδοχή του Mazda RX-7 τρέφεται και ανακυκλώνεται, υπό το όνομα «RX-9». Πληροφορίες που κατά καιρούς έρχονται από τα ενδότερα της εταιρίας, αλλά και κατοχυρωμένες πατέντες, συνηγορούν στο ότι οι Ιάπωνες όντως έχουν στο μυαλό τους την επιστροφή των «ΡοΧι».
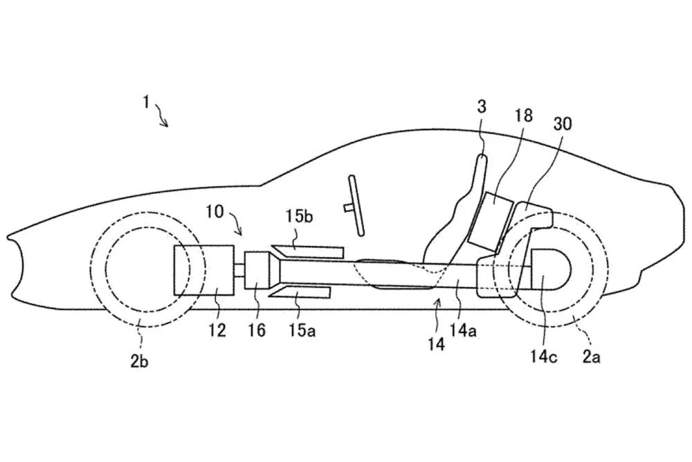
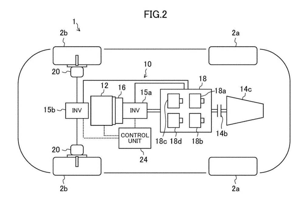
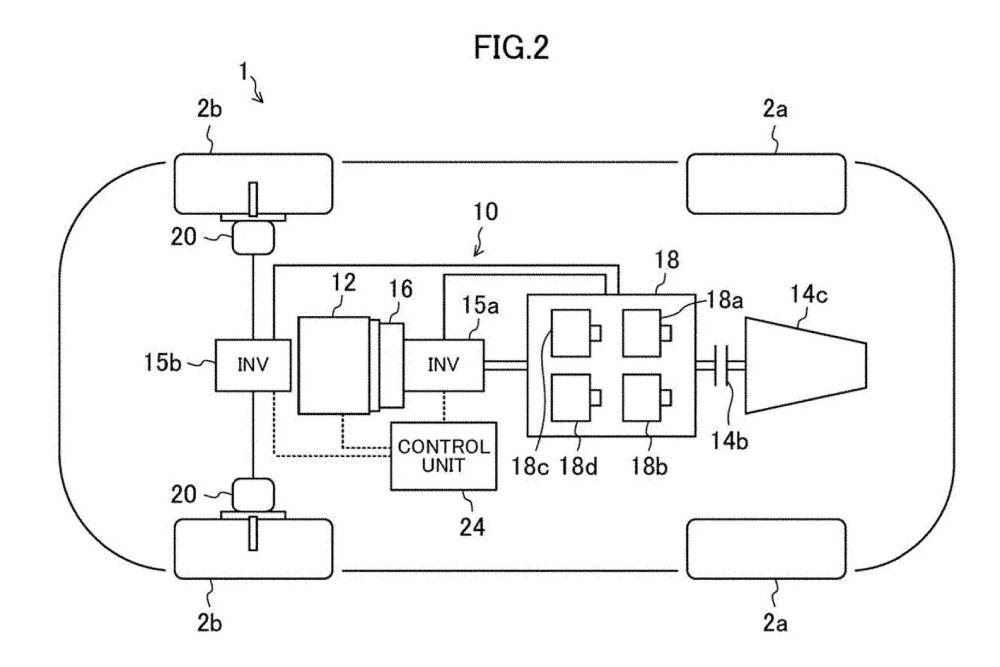
Άλλη μια «φουρνιά» πατενταρισμένων σκίτσων έρχεται να επιβεβαιώσει την κλίση της Mazda προς το RX-9, η οποία αυτή τη φορά είναι πιο βάσιμη από κάθε άλλη φορά. Κι αυτό διότι ήδη έχει κάνει το μεγάλο comeback ο Wankel, έστω ως range extender στο MX-30 e-Skyactiv R-E. Βάσει των πατεντών που κατατέθηκαν στο Αμερικανικό Γραφείο Ευρεσιτεχνιών, κάτι παρόμοιο σχεδιάζεται για το νέο sportscar της φίρμας από τη Χιροσίμα. Και πάλι το περιστροφικό μοτέρ θα αναλάβει υποστηρικτικό ρόλο στο ρεύμα, το οποίο θα τροφοδοτεί όλους τους τροχούς μέσω 3 ηλεκτροκινητήρων.

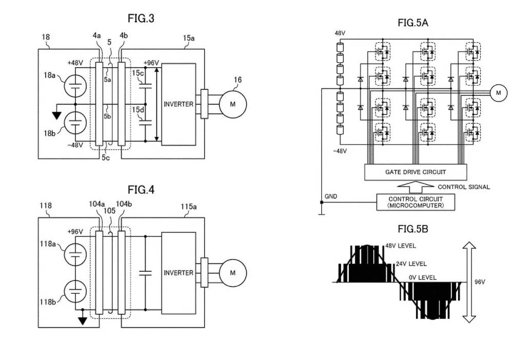
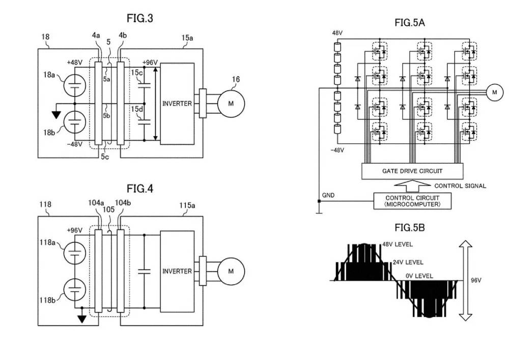
Οι λεπτομέρειες δείχνουν δυο μικρούς κινητήρες, ο ένας 23 ίππων για τον εμπρός άξονα και ο άλλος 36 ίππων πίσω από τον Wankel. Ο τρίτος, που κάνει την περισσότερη δουλειά, δεν συνοδεύεται από τεχνικές πληροφορίες. Το μόνο που φαίνεται είναι ότι τοποθετείται στον πίσω άξονα, τροφοδοτώντας τους αντίστοιχους τροχούς. Σύμφωνα με την πατέντα, δηλαδή, το σενάριο sportscar για τη Mazda θέλει plug-in υβριδικό σύστημα που κατά βάση είναι πισωκίνητο, αλλά μπορεί να εμπλέξει και τον εμπρός άξονα αν χρειαστεί. Εξίσου ενδιαφέρουσα παρουσιάζεται και η διάταξη της μπαταρίας, η οποία αποτελείται από τέσσερις 48βολτες μονάδες αντί μιας ενιαίας συστοιχίας μεγαλύτερης χωρητικότητας. Η μέγιστη τροφοδοσία φτάνει τα 96 Volt, με τις τέσσερις μονάδες να εναλλάσσονται ανά δύο όποτε χρειάζεται το μάξιμουμ της ισχύος, σε μια εφαρμογή που -σύμφωνα με τη Mazda- μειώνει το βάρος και επιτρέπει τη βέλτιστη κατανομή του από τους μηχανικούς.
Επίσημη ενημέρωση για κάτι περισσότερο, προς το παρόν δεν υπάρχει. Μπορεί η Mazda να κατοχύρωσε την εν λόγω τεχνολογία για τη διαφυλάξει από άλλες εταιρίες, αλλά θα μπορούσε και όντως να σημαίνει πως πλέον, κοιτά πιο «ζεστά» το ενδεχόμενο ενός νέου Rotary eXperiment μοντέλου, 11 χρόνια μετά το τέλος παραγωγής του RX-8.





























