Δυο νέες ευρεσιτεχνίες κατέθεσε η Mazda νωρίτερα μέσα στη χρονιά και είδαν σήμερα το φως της δημοσιότητας, οι οποίες απεικονίζουν ένα περιστροφικό κινητήρα μεν, αλλά με την ύπαρξη turbo δε!
Αν είμαστε τυχεροί και η συγκεκριμένη πατέντα περάσει στην παραγωγή, τότε ίσως ο εν λόγω κινητήρας να εξοπλίζει το νέο RX-7 όποτε (κι αν) έρθει!
Δείτε ακόμη: Έλληνες κυνηγιούνται με Honda S2000 και Mazda RX-7 στο ‘Ring (+video)
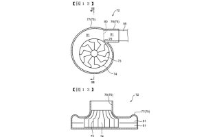
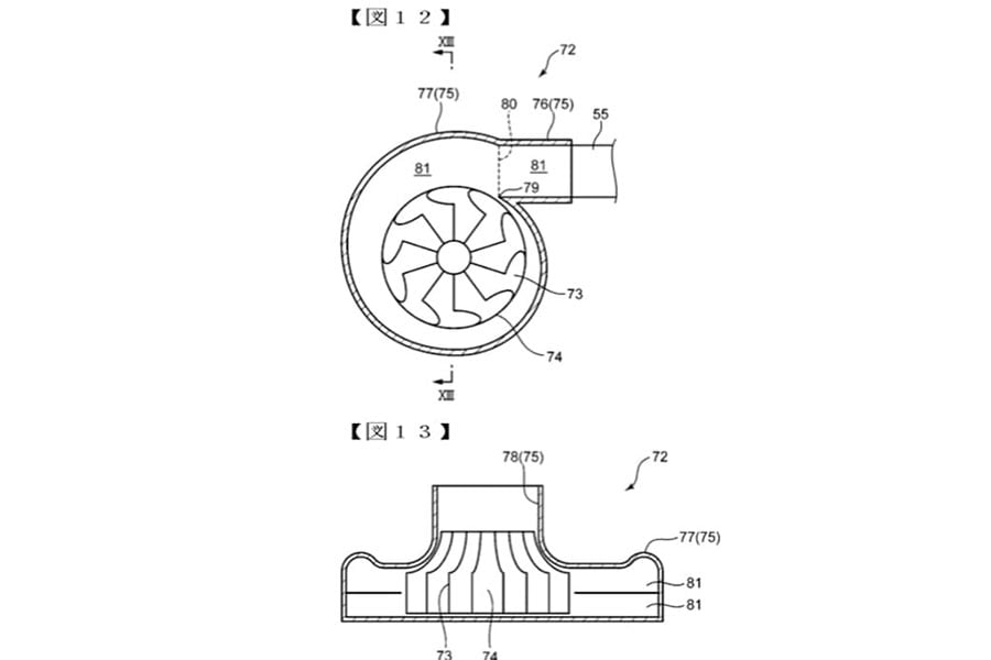
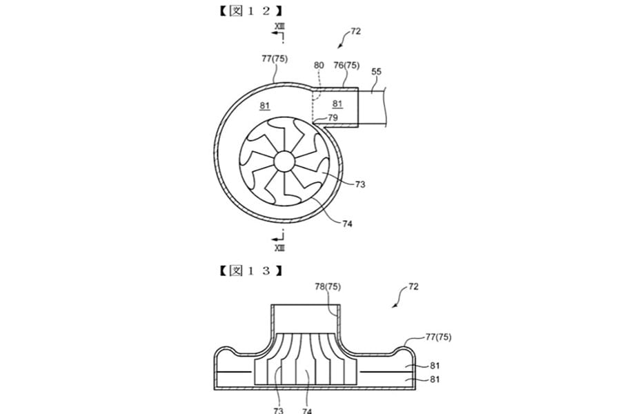
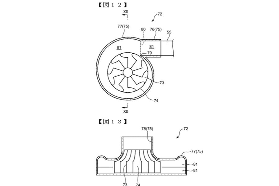
Η ιαπωνική εταιρεία ανέκαθεν επιθυμούσε να κατασκευάσει ένα νέο σπορ μοντέλο εξοπλισμένο με Wankel μοτέρ, αλλά παράλληλα ήταν και κάθετη στο γεγονός πως δεν θα έβγαινε στην παραγωγή, αν ο κινητήρας αυτός δεν πληρούσε τις προδιαγραφές ρύπων και απόδοσης παράλληλα. Τα σκίτσα της πατέντας που ήρθαν στη δημοσιότητα, αποκαλύπτουν πως υπάρχει μια τουρμπίνα αποκλειστικά κατασκευασμένη για Wankel μοτέρ, ενώ ο νέος κινητήρας φαίνεται πως έχει πλευρική έξοδο καυσαερίων για την ευκολότερη ροή τους. Μπορεί οι πρώτες αναφορές να κάνουν λόγο πως οι νέοι κινητήρες θα ενσωματώνονται στα νέα ηλεκτρικά ή υβριδικά μοντέλα, όμως στις αιτήσεις ευρεσιτεχνίας παρουσιάστηκαν μόνοι τους.
Διαβάστε επίσης: Κιτ αύξησης της ισχύος για το νέο Mazda MX-5
Από το 2015 όπου και γνωρίσαμε το RX-Vision Concept, ευελπιστούμε κάποια στιγμή να τσουλήσει τις ρόδες του από τη γραμμή παραγωγής. Μην ξεχνάμε άλλωστε ότι ο επικεφαλής έρευνας και ανάπτυξης της Mazda Kiyoshi Fujiwara, είχε αναφέρει ότι αυτό θα γίνει όταν θα είναι έτοιμος ο νέος κινητήρας. Λέτε να ήρθε το πλήρωμα του χρόνου;

































