Μια ακόμα πατέντα κατοχύρωσε η Mazda, αλλά αυτή τη φορά ουδεμία σχέση με Wankel ή κινητήρα γενικότερα έχει. Αντίθετα, οι Ιάπωνες ενδιαφέρονται πλέον και για τα drones!
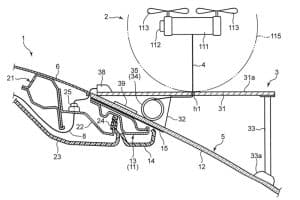
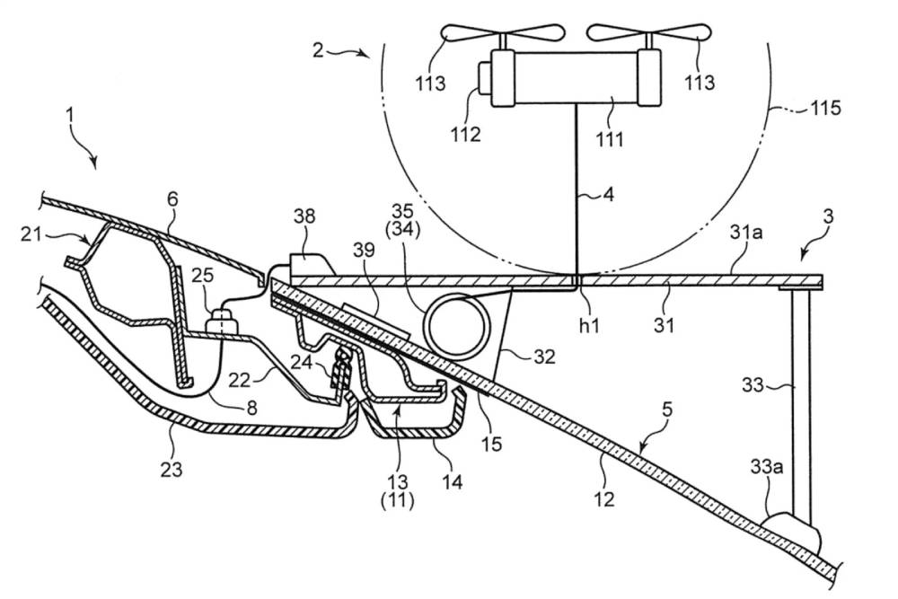
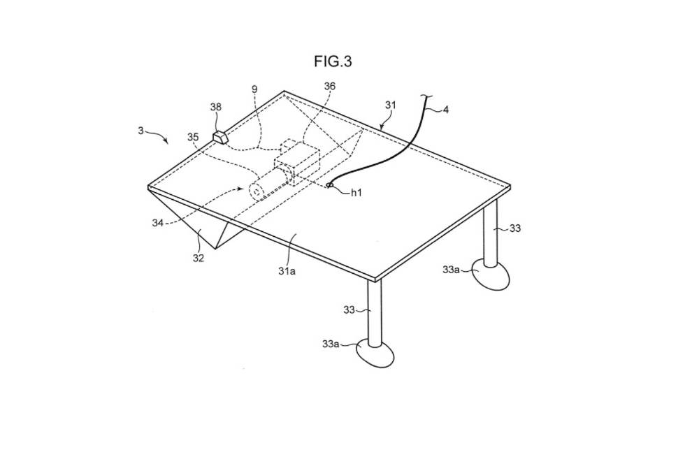
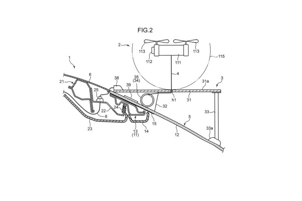
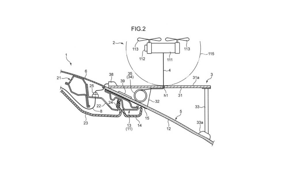
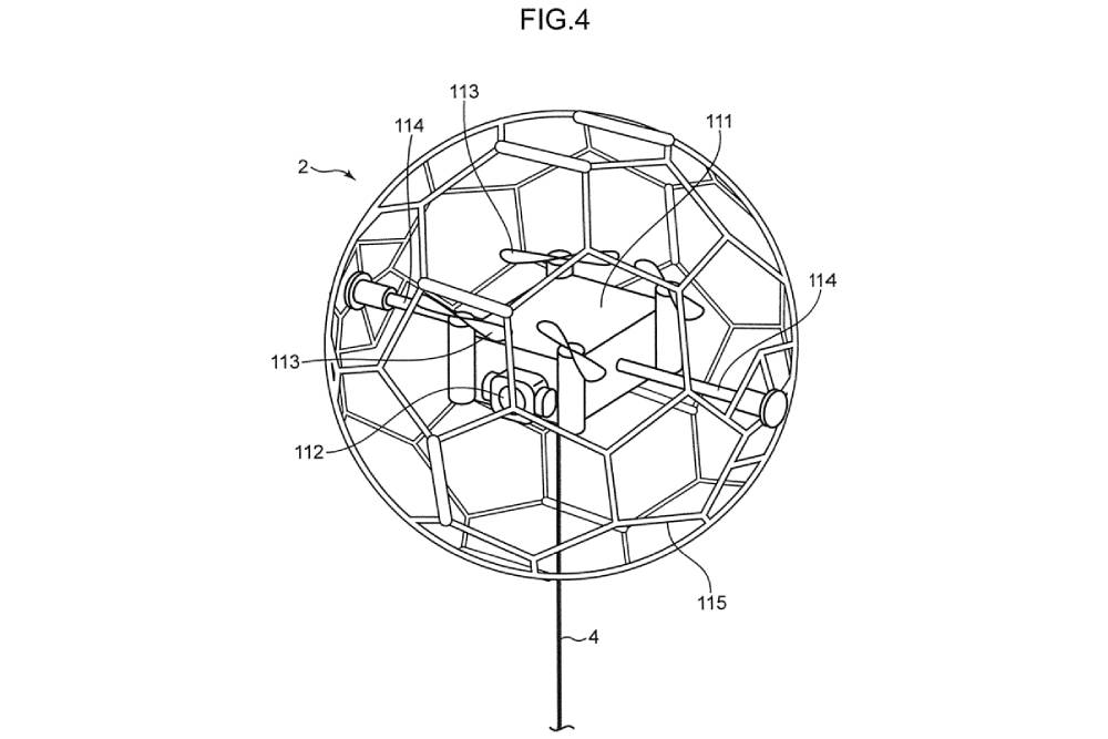
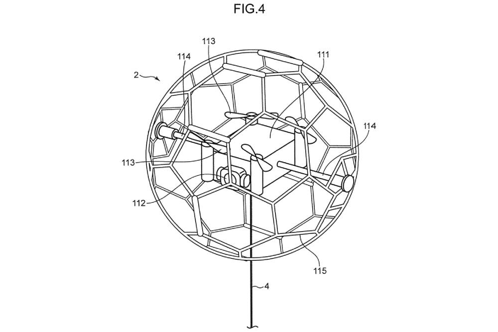
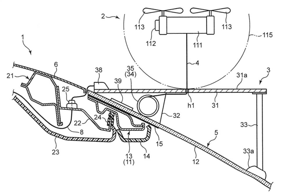
Σύμφωνα με το PatentGuru, η φίρμα από τη Χιροσίμα κατοχύρωσε μια ευρεσιτεχνία που αφορά την απογείωση/προσγείωση drones από/σε αυτοκίνητο. Στα σκίτσα των εγγράφων απεικονίζεται ένα σχήμα που θυμίζει το MX-5 RF και φέρει στο πίσω μέρος, μια μικρή πλατφόρμα. Αυτή τοποθετείται στο ύψος του χώρου αποσκευών και επί της ουσίας, αποτελεί ένα ελικοδρόμιο σε σμίκρυνση. Η πατέντα αυτή έχει σκοπό τη διευκόλυνση στη χρήση drones κατά τη διάρκεια της οδήγησης, σε μια εφαρμογή με πολλαπλές χρήσεις.
Καταρχάς, πολύς κόσμος χρησιμοποιεί drones για video. Στην εποχή των μέσων κοινωνικών δικτύωσης και των influencers, όπου κάθε κλικ/view μετράει, ένα αυτοκίνητο που υποστηρίζει τις λήψεις εντυπωσιακών πλάνων φτάνει μέχρι να κερδίζει έδαφος έναντι των ανταγωνιστών στο κομμάτι της αγοράς. Πέρα από το εμπορικό σκέλος όμως, η εν λόγω τεχνολογία έχει και πιο ουσιαστικές απεικονίσεις. Τα drones χρησιμοποιούνται στην εξέλιξη των αυτόνομων οχημάτων, ως μέσα υποβοήθησης των ηλεκτρονικών συστημάτων. Εκτός του GPS, των ραντάρ και των εκατοντάδων αισθητήρων, πολλά πρωτότυπα χρησιμοποιούν drones ως μέσο επόπτευσης της κυκλοφορίας και των συνθηκών, σε πραγματικό χρόνο και με πολύ μεγαλύτερη εγγύτητα.

Ένα περιστατικό, για παράδειγμα, που δεν έχει προλάβει να καταχωρηθεί στους χάρτες και μέσω GPS δεν θα έρθει εις γνώση του εγκεφάλου, με το drone φαίνεται πεντακάθαρα. Κατ’ αυτό τον τρόπο, το όχημα είναι πάντα έτοιμο και σε real time δεδομένα, ώστε να αντιμετωπίζει με τον βέλτιστο τρόπο οτιδήποτε συμβαίνει στο δρόμο.
Περαιτέρω πληροφορίες δεν αναφέρονται, αναφορικά με το ποια μοντέλα θα μπορούσαν να χρησιμοποιήσουν το «drone-oδρόμιο». Η παρουσία του MX-5, βέβαια, δείχνει τον πρώτο υποψήφιο. Και βάσει χαρακτήρα του, περισσότερο στο YouTube προσανατολίζεται η χρήση του μη επανδρωμένου ελικοφόρου, παρά στην αυτόνομη οδήγηση.







































