Τον τροχό θέλει να επανεφεύρει, κυριολεκτικά, η Hyundai μέσα από τη νέα τεχνολογία που εξελίσσει, θέλοντας να φτάσει σε έναν άλλο στόχο: τις μεταβλητές πιέσεις ελαστικών!
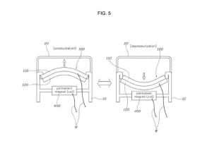
Όπως αποκαλύπτουν τα σχέδια που κατέθεσαν στο Αμερικανικό Γραφείο Ευρεσιτεχνιών, οι Κορεάτες ετοιμάζουν ένα είδος ζάντας που θα συμπτύσσεται και αναπτύσσεται κατά βούληση, μορφοποιώντας αναλόγως το σχήμα του θύλακα αέρα στο ελαστικό και κατ’ επέκταση, την πίεσή του. Η πρωτοποριακή αυτή τεχνολογία βασίζεται σε ένα εύπλαστο και ευμετάβλητο μέταλλο, το οποίο αποτελείται από διμεταλλικές λωρίδες και συνθέτει το «βαρέλι» της ζάντας. Οι διμεταλλικές λωρίδες συντίθενται από δυο ανόμοια ελάσματα, εφαρμοσμένα το ένα με το άλλο, που υπό κανονικές συνθήκες έχουν το ίδιο σχήμα.
Επειδή ακριβώς είναι ανόμοια, η αλλαγή στη θερμοκρασία επηρεάζει διαφορετικά τη συμπεριφορά τους. Η ανομοιόμορφη κατανομή της θερμότητας αλλιώς επηρεάζει τη μορφή τους όταν η θερμοκρασία είναι υψηλή, αλλιώς όταν είναι χαμηλή. Με την εφαρμογή πολλών βαθμών Κελσίου το μέταλλο διαστέλλεται, με λίγους συστέλλεται. Κατ’ αυτό τον τρόπο αλλάζει η μορφολογία της ζάντας, «ανοίγοντας» ή «κλείνοντας». Λόγω αυτής της αλλαγής, επηρεάζεται ανάλογα η κατανομή του αέρα στο ελαστικό. Όταν η ζάντα, για παράδειγμα, διαστέλλεται σε ένα σημείο, αυξάνεται η πίεση. Αντιθέτως, όταν συστέλλεται μειώνεται. Ένας αέρας που επίσης μεταβάλλεται με την αλλαγή θερμοκρασίας, αυξάνοντας την πίεση στη ζέστη και μειώνοντάς τη στο κρύο. Είναι χαρακτηριστικό πως η διαφορά ενός κρύου και ενός ζεστού ελαστικού μπορεί να φτάσει τα 5 psi, επηρεάζοντας αναλόγως την ποιότητα κύλισης, την κατανάλωση, το φρενάρισμα και τις επιδόσεις.

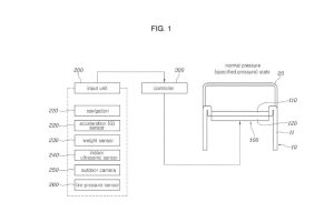
H Hyundai θέλει να ελέγξει αυτές ακριβώς τις μεταβολές των πιέσεων, δίνοντας τον έλεγχο αυτών στις ζάντες. Δεδομένα από το σύστημα πλοήγησης και διάφορους αισθητήρες (ταχύτητας, βάρους, ελαστικών, της γωνιακής και διαμήκους επιτάχυνσης, καμπίνας κλπ) αναλύονται και αποστέλλονται σε μια κεντρική μονάδα, η οποία με τη σειρά της μεταβιβάζει ηλεκτρικό ρεύμα σε αντιστάσεις εντός των διμεταλλικών λωρίδων. Με αυτό τον τρόπο, τόσο οι τυπικές αλλαγές στις πιέσεις που πρέπει να κάνουμε εμείς (πχ αύξηση όταν το αυτοκίνητο είναι φορτωμένο), όσο και πολύ πιο προχωρημένες που αφορούν την τοπική παραμόρφωση του ελαστικού, πραγματοποιούνται αυτόματα. Κατά τη διάρκεια έντονου φρεναρίσματος, ας πούμε, φορτίζεται το κάτω μέρος του πέλματος. Σε επιθετικό στρίψιμο, τα πλαϊνά.
Η επαναστατική ζάντα της Hyundai θα ελέγχει όλες αυτές τις παραμέτρους, αλλάζοντας τις πιέσεις κατά το δοκούν και βελτιστοποιώντας τη συμπεριφορά του αυτοκινήτου υπό όλες τις συνθήκες. Ο έλεγχος και περιορισμός των παραμορφώσεων θα μπορούσε να προσφέρει τα οφέλη ενός χαμηλού προφίλ, φερ’ ειπείν, αλλά χωρίς τη μειωμένη ποιότητα κύλισης. Φυσικά η λίστα με τα πλεονεκτήματα και το εύρος της λειτουργικότητας μιας τέτοιας ζάντας μεταβαλλόμενου μεγέθους, ή τροχού μεταβλητών πιέσεων καλύτερα, είναι ανεξάντλητη.







































