Τον τροχό θέλει να επανεφεύρει η VW, και συγκεκριμένα αυτόν που κάθε οδηγός έχει μπροστά του όταν μπαίνει στο αυτοκίνητο. Οι Γερμανοί κατοχύρωσαν μια επαναστατική πατέντα, που θέλει το τιμόνι να μετατρέπεται σε πίνακα ελέγχου ολόκληρου του οχήματος!
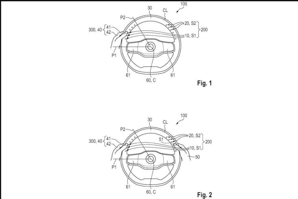
Από το Γερμανικό Γραφείο Ευρεσιτεχνιών αλιεύτηκε μια πατέντα, που δείχνει το τιμόνι των μελλοντικών VW σε ρόλο διακόπτη φλας, υαλοκαθαριστήρων και διαφόρων άλλων λειτουργιών. Όπως δείχνουν τα σκίτσα και η περιγραφή, η στεφάνη του τιμονιού χωρίζεται σε δυο μέρη. Αριστερά έχουμε τα πρωτεύοντα χειριστήρια, δεξιά τα δευτερεύοντα. Ο διαχωρισμός γίνεται ως εξής: αριστερά γίνεται η επιλογή της κάθε λειτουργίας (πχ φώτα), δεξιά ο τρόπος εκτέλεσης (επιλογή μικρής ή μεσαίας σκάλας, ομίχλης κλπ). Το ίδιο γίνεται για κάθε εφαρμογή, που περιλαμβάνει από τα φλας μέχρι το trip computer και το cruise control!

Το σκεπτικό πίσω από τη μετακόμιση όλων των διακοπτών, που σήμερα βρίσκουμε στην κολώνα του τιμονιού, πάνω σε αυτό παρουσιάζει τριπλή υπόσταση. Πρώτον, ασφάλεια. Ο οδηγός δεν απομακρύνει τα χέρια του από τη στεφάνη, άρα μειώνονται οι αντιπερισπασμοί και οι κινήσεις μακριά από το πηδάλιο του οχήματος. Δεύτερον, αισθητική ελευθερία. Οι σχεδιαστές μπορούν να δημιουργήσουν πιο όμορφα ταμπλό, απαλλάσσοντας την κολώνα και την κεντρική κονσόλα από κουμπιά και διακόπτες. Τρίτον (και βάσει απλής λογικής, κυριότερο), κόστος. Το λογιστήριο εξοικονομεί χρήματα από κάθε αυτοκίνητο, χάρις στην απουσία των κλασικών εξαρτημάτων. Μπορεί να φαντάζει περίεργο πώς γλιτώνουν κονδύλια 3-4 διακόπτες λιγότεροι, αλλά αν τους βάλουμε στην κλίμακα των εκατομμυρίων αυτοκινήτων που παράγει κάθε χρόνο το VW Group μιλάμε για τεράστιο ποσό. Αντίθετα, με τη νέα διάταξη ένα σύστημα φροντίζει για όλα.
Το θέμα είναι ότι ταυτόχρονα, εγείρονται σημαντικά ζητήματα ασφάλειας – παρότι, θεωρητικά, επιδιώκεται βελτίωση. Τα χέρια μπορεί να παραμένουν στο τιμόνι, αλλά δεν συμβαίνει το ίδιο με τα μάτια και το δρόμο. Γεμίζοντας το τιμόνι λειτουργίες και ενδείξεις, ουσιαστικά επιτυγχάνεται το ίδιο με τις οθόνες: ο οδηγός καλείται να παίρνει διαρκώς το βλέμμα του από την κίνηση, προκειμένου να βρίσκει τα κατατόπια. Η τεχνολογία της VW βρίσκεται ακόμα σε στάδιο εκκόλαψης, αλλά εκ πρώτης όψεως μόνο εύχρηστη δεν μοιάζει. Και ήδη τα σύγχρονα αυτοκίνητα είναι αρκετά πολύπλοκα.






























