Ζώντας στην ψηφιακή εποχή, μαθαίνουμε να περιμένουμε τις αντίστοιχες μετατροπές στην καθημερινότητά μας. Ψηφιοποίηση σε όλο και περισσότερες πτυχές, με τα αυτοκίνητα να έχουν μπει προ πολλού στο κύκλωμα των αλγορίθμων και των διαφορικών εξισώσεων.
Παράλληλα, εταιρίες που μεγαλουργούν στον τομέα της τεχνολογίας έχουν βρει προσοδοφόρο έδαφος να εισβάλλουν στα «χωράφια» των αυτοκινητοβιομηχανιών (βλέπε Google, Amazon, Microsoft). Άλλες -με πλέον χαρακτηριστικό παράδειγμα την Tesla– τους «βάζουν τα γυαλιά». Κάτι που, ως φαίνεται, έρχεται να κάνει και η Apple, επιλύοντας ένα ζήτημα που απασχολεί τα σχεδιαστήρια των εταιριών εδώ και δεκαετίες.
Δείτε ακόμα: Κουμπιά ή οθόνες στο εσωτερικό;
Ένα από τα πρώτα εξαρτήματα που βίωσε τις επιταγές του ψηφιακού γίγνεσθαι, ήταν το τιμόνι. Το μέσο ελέγχου και επικοινωνίας οδηγού-αυτοκινήτου απαρνήθηκε τις αντλίες και τα υγρά του υδραυλικού κυκλώματος υποβοήθησης, για χάρη ηλεκτρικών μοτέρ και σημάτων στην κεντρική μονάδα επεξεργασίας. Η ηλεκτρική υποβοήθηση είναι πλέον κανόνας, αφού πρώτα άκουσε τα εξ αμάξης για την έλλειψη αίσθησης και την τεχνητή υφή του βάρους. Σήμερα απαντάται ακόμα και σε τοτέμ της οδηγικής απόλαυσης, όπως η νέα Porsche 911, και έχει ξεπεράσει τον αρχικό σκεπτικισμό. Όμως η τεχνολογία δεν παύει να εξελίσσεται. Οπότε κάτι ανάλογο, θέλει να εφαρμόσει η Apple στο τιμόνι.
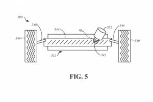
Σύμφωνα με την πατέντα που κατοχύρωσε στην Υπηρεσία Πνευματικής Ιδιοκτησίας των Η.Π.Α., η φίρμα που μας έδωσε τα Macintosh και το iPhone φέρεται έτοιμη να λανσάρει το πρώτο ηλεκτρονικό τιμόνι στην Ιστορία! Προσοχή: όχι ηλεκτρικό. Πλήρως ηλεκτρονικό. Ευρύτερα γνωστό ως steer-by-wire, τεχνολογία που χρησιμοποιείται εδώ και χρόνια στον τομέα της αεροπλοΐας. Κρεμαγέρα, πολύ απλά, δεν υφίσταται. Το τιμόνι είναι συνδεδεμένο με τον εμπρός άξονα μέσω μονάδων επεξεργασίας και ενός ηλεκτρικού μοτέρ. Η κίνηση του τιμονιού μεταφράζεται σε ηλεκτρικό σήμα, από εκεί σε input και καταλήγει στο ηλεκτρικό μοτέρ, το οποίο δίνει στους τροχούς την γωνία που έχει μεταφέρει το σύστημα από τον οδηγό. Τα δεδομένα αναλύονται και επανυπολογίζονται διαρκώς, ώστε το σύστημα να μαθαίνει το στυλ οδήγησης και να προσφέρει περισσότερη ακρίβεια στους χειρισμούς.
Διαβάστε επίσης: Η Tesla προσθέτει παιχνίδια Atari στο λογισμικό της! (+video)
Μια τεχνοτροπία που οι αυτοκινητοβιομηχανίες εξετάζουν από τις δεκαετίες του 60 και 70 (με εντελώς διαφορετικά μέσα και φιλοσοφία, βέβαια), με την Infiniti να φτάνει στην υλοποίηση παρόμοιας εφαρμογής το 2014. Το αποτέλεσμα, όμως, ήταν κανονικό φιάσκο. Οι κριτικές κατακεραύνωσαν το Direct Adaptive Steering για παντελή έλλειψη αίσθησης, αλλά και ανύπαρκτο βάρος – το οποίο στις υψηλές ταχύτητες δημιουργούσε τρομερή ανασφάλεια στον χειρισμό του αυτοκινήτου. Τελικά το Q50 αναγκάστηκε να επιστρέψει άρον άρον στην υδραυλική -ούτε καν ηλεκτρική- υποβοήθηση.
Η Apple υποστηρίζει πως το δικό της σύστημα (αβάπτιστο προς το παρόν) χρησιμοποιεί μίνι προσομοιωτές υψηλής ισχύος, οι οποίοι φροντίζουν να στέλνουν στα χέρια του οδηγού το απαραίτητο feedback. Οι Αμερικανοί παραδέχονται πως τα επίπεδα αίσθησης και βάρους δεν πλησιάζουν αυτά των καλών ηλεκτρικών τιμονιών, αλλά υπεραμύνονται της δημιουργίας τους αναφέροντας πως προορίζεται για μοντέλα αυτόνομης οδήγησης, στα οποία το ανθρώπινο χέρι «μπαίνει» ελάχιστα.

































