Ακόμα μια πατέντα της Mazda ήρθε στο φως της δημοσιότητας, η οποία αποκαλύπτει ένα πισωκίνητο αυτοκίνητο, το οποίο θα εξοπλίζεται με περιστροφικό κινητήρα και υβριδική τεχνολογία.
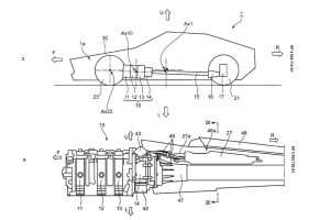
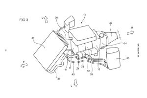
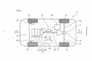
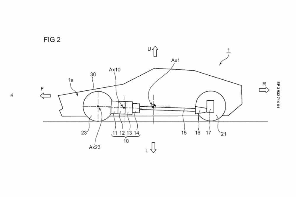
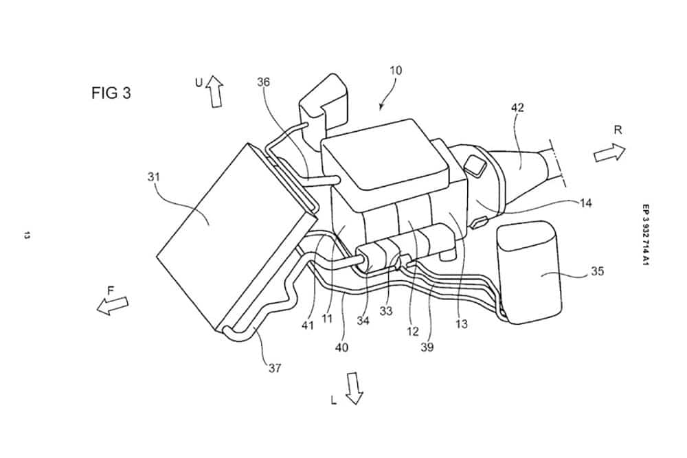
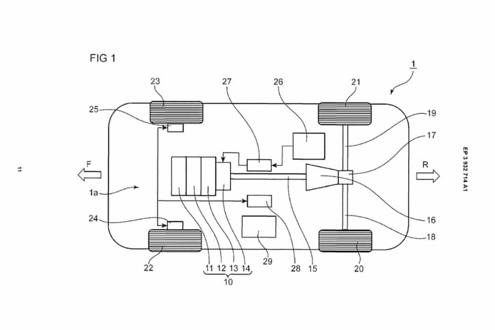
Όλα τα στοιχεία αποδεικνύουν πως η Mazda δεν κάθεται ήσυχη, τουναντίον δουλεύει αθόρυβα εξελίσσοντας νέα προϊόντα. Μια νέα πατέντα που κατατέθηκε από την ιαπωνική μάρκα στο ευρωπαϊκό γραφείο ευρεσιτεχνιών, αφορά ένα νέο πισωκίνητο μοντέλο που θα εξοπλίζεται με το γνωστό μας wankel κινητήρα, που θα ενσωματώνει και υβριδική τεχνολογία, ενώ θα έχει κι ένα νέο κιβώτιο ταχυτήτων. Μπορεί να έχει περάσει μια 10ετία από την τελευταία φορά που η Mazda κατασκεύασε ένα μοντέλο με περιστροφικό κινητήρα, ωστόσο η αγάπη της για το μοτέρ αυτό είναι άσβεστη, παρά τη δυσκολία συμμόρφωσής του με τους αυστηρούς κανονισμούς εκπομπών ρύπων. Η πρόσφατη πατέντα αποκαλύπτει έναν περιστροφικό κινητήρα στο εμπρόσθιο μέρος του αυτοκινήτου, με τρεις ρότορες, όπως ακριβώς είχε και το κουπέ Cosmo, στις αρχές της δεκαετίας του 90, που θα συνεργάζονται όμως με ένα ήπιο υβριδικό σύστημα 48V.
Τώρα το μόνο που μένει να δούμε αν αυτό το πόνημα της Mazda θα περάσει στην παραγωγή ή θα παραμείνει στα χαρτιά! Το πλήρωμα του χρόνου μένει να το δείξει αυτό!




































